Datasheet (Asahi Kasei Microdevices) - 4

FabricanteAsahi Kasei Microdevices
DescripciónLED Driver and Sensor AFE for NDIR Gas Sensing
Páginas / Página34 / 4 — 5. Block Diagram and Functions. 5.1. Block Diagram. 5.2. Functions
Formato / tamaño de archivoPDF / 1.3 Mb
Idioma del documentoInglés

5. Block Diagram and Functions. 5.1. Block Diagram. 5.2. Functions

5 Block Diagram and Functions 5.1 Block Diagram 5.2 Functions

Línea de modelo para esta hoja de datos

Versión de texto del documento

[AK9723AJ]
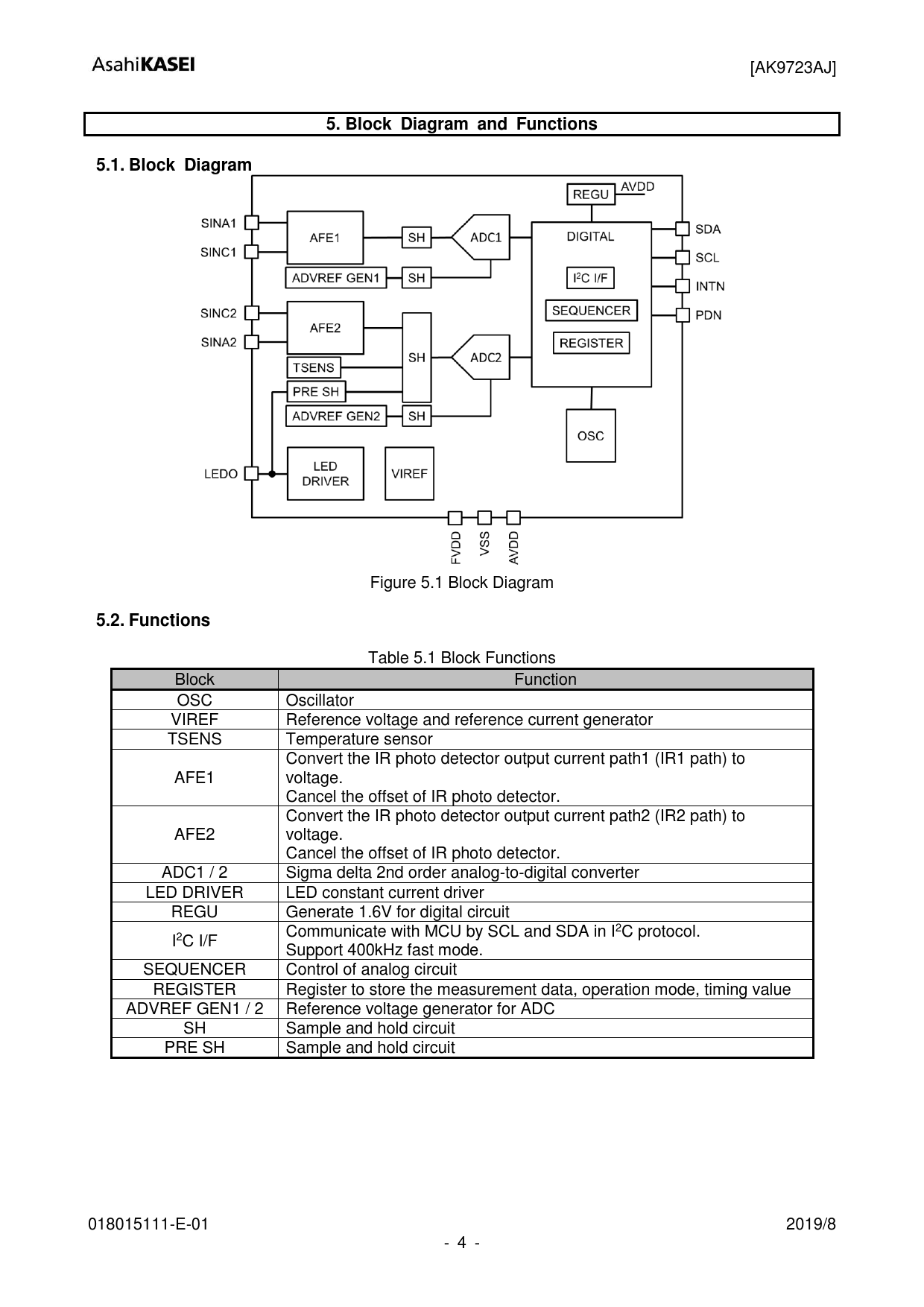
5. Block Diagram and Functions 5.1. Block Diagram
Figure 5.1 Block Diagram
5.2. Functions
Table 5.1 Block Functions Block Function OSC Oscillator VIREF Reference voltage and reference current generator TSENS Temperature sensor Convert the IR photo detector output current path1 (IR1 path) to AFE1 voltage. Cancel the offset of IR photo detector. Convert the IR photo detector output current path2 (IR2 path) to AFE2 voltage. Cancel the offset of IR photo detector. ADC1 / 2 Sigma delta 2nd order analog-to-digital converter LED DRIVER LED constant current driver REGU Generate 1.6V for digital circuit Communicate with MCU by SCL and SDA in I2C protocol. I2C I/F Support 400kHz fast mode. SEQUENCER Control of analog circuit REGISTER Register to store the measurement data, operation mode, timing value ADVREF GEN1 / 2 Reference voltage generator for ADC SH Sample and hold circuit PRE SH Sample and hold circuit 018015111-E-01 2019/8 - 4 -