Datasheet AD557 (Analog Devices) - 6
| Fabricante | Analog Devices |
| Descripción | DACPORT Low Cost, Complete ВµP-Compatible 8-Bit DAC |
| Páginas / Página | 7 / 6 — AD557. OUTLINE DIMENSIONS. N-16 (Plastic) Package. 0.87 (22.1) MAX. 0.25. … |
| Revisión | B |
| Formato / tamaño de archivo | PDF / 603 Kb |
| Idioma del documento | Inglés |
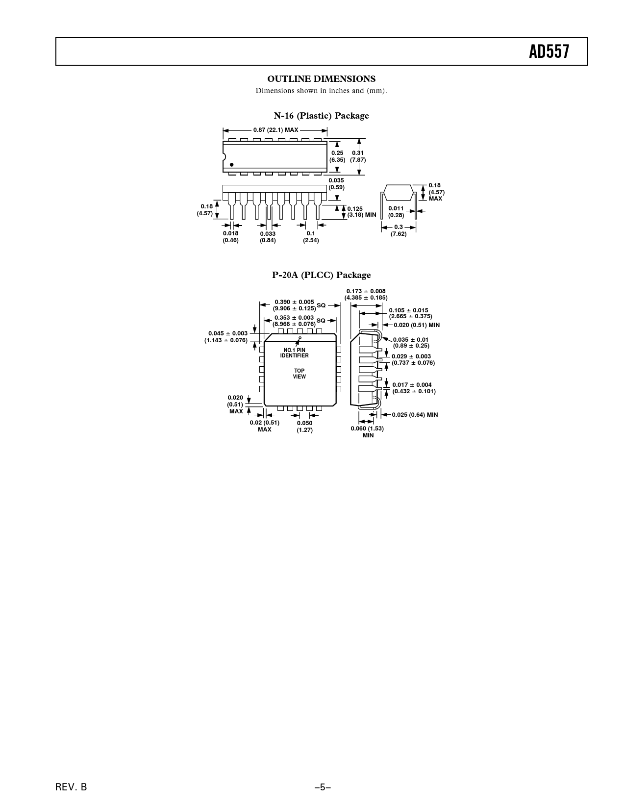
AD557. OUTLINE DIMENSIONS. N-16 (Plastic) Package. 0.87 (22.1) MAX. 0.25. 0.31. (6.35) (7.87). 0.035 (0.59). 0.18 (4.57) MAX. 0.18. 0.125

Línea de modelo para esta hoja de datos
Versión de texto del documento
AD557 OUTLINE DIMENSIONS
Dimensions shown in inches and (mm).
N-16 (Plastic) Package 0.87 (22.1) MAX 0.25 0.31 (6.35) (7.87) 0.035 (0.59) 0.18 (4.57) MAX 0.18 0.125 0.011 (4.57) (3.18) MIN (0.28) 0.3 0.018 0.033 0.1 (7.62) (0.46) (0.84) (2.54) P-20A (PLCC) Package 0.173
ⴞ
0.008 (4.385
ⴞ
0.185) 0.390
ⴞ
0.005 SQ (9.906
ⴞ
0.125) 0.105
ⴞ
0.015 0.353
ⴞ
0.003 (2.665
ⴞ
0.375) SQ (8.966
ⴞ
0.076) 0.020 (0.51) MIN 0.045
ⴞ
0.003 (1.143
ⴞ
0.076) 0.035
ⴞ
0.01 (0.89
ⴞ
0.25) NO.1 PIN IDENTIFIER 0.029
ⴞ
0.003 (0.737
ⴞ
0.076) TOP VIEW 0.017
ⴞ
0.004 (0.432
ⴞ
0.101) 0.020 (0.51) MAX 0.025 (0.64) MIN 0.02 (0.51) 0.050 MAX (1.27) 0.060 (1.53) MIN
REV. B –5–