Datasheet MCP3422, MCP3423, MCP3424 (Microchip) - 3
| Fabricante | Microchip |
| Descripción | 18-Bit, Multi-Channel ΔΣ Analog-to-Digital Converter with I2C Interface and On-Board Reference |
| Páginas / Página | 58 / 3 — MCP3422/3/4. Functional Block Diagram. MCP3423. MCP3424 |
| Revisión | 08-21-2009 |
| Formato / tamaño de archivo | PDF / 1.1 Mb |
| Idioma del documento | Inglés |
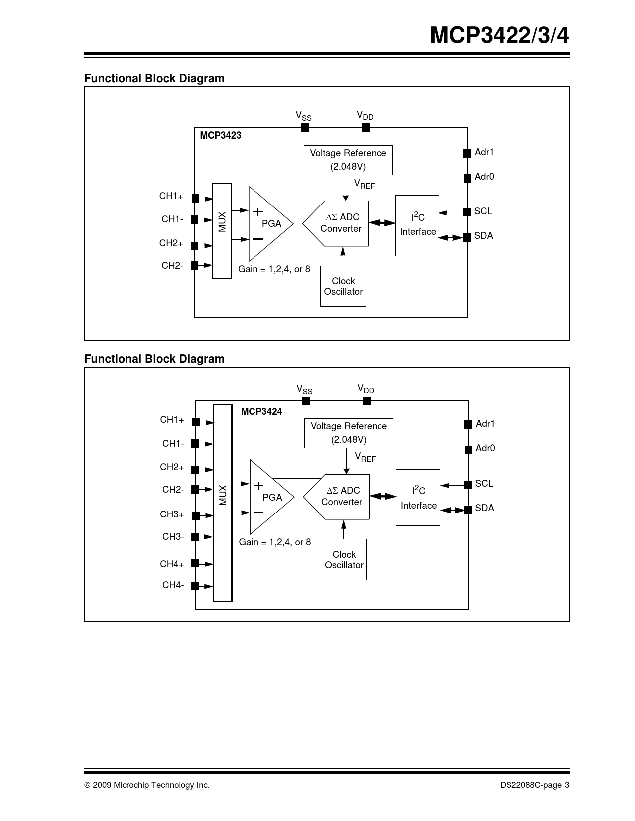
MCP3422/3/4. Functional Block Diagram. MCP3423. MCP3424

Línea de modelo para esta hoja de datos
Versión de texto del documento
MCP3422/3/4 Functional Block Diagram
V V SS DD
MCP3423
Voltage Reference Adr1 (2.048V) Adr0 VREF CH1+ SCL CH1- ΔΣ ADC I2C PGA MUX Converter Interface SDA CH2+ CH2- Gain = 1,2,4, or 8 Clock Oscillator
Functional Block Diagram
V V SS DD
MCP3424
CH1+ Adr1 Voltage Reference CH1- (2.048V) Adr0 VREF CH2+ SCL CH2- ΔΣ ADC I2C PGA MUX Converter Interface SDA CH3+ CH3- Gain = 1,2,4, or 8 Clock CH4+ Oscillator CH4- © 2009 Microchip Technology Inc. DS22088C-page 3 Document Outline 1.0 Electrical Characteristics 2.0 Typical Performance Curves FIGURE 2-1: INL vs. Supply Voltage (VDD). FIGURE 2-2: INL vs. Temperature. FIGURE 2-3: Offset Error vs. Temperature. FIGURE 2-4: Output Noise vs. Input Voltage. FIGURE 2-5: Total Error vs. Input Voltage. FIGURE 2-6: Gain Error vs. Temperature. FIGURE 2-7: IDDA vs. Temperature. FIGURE 2-8: IDDS vs. Temperature. FIGURE 2-9: IDDB vs. Temperature. FIGURE 2-10: Oscillator Drift vs. Temperature. FIGURE 2-11: Frequency Response. 3.0 Pin Descriptions TABLE 3-1: PIN Function Table 3.1 Analog Inputs (CHn+, CHn-) 3.2 Supply Voltage (VDD, VSS) FIGURE 3-1: Equivalent Analog Input Circuit. 3.3 Serial Clock Pin (SCL) 3.4 Serial Data Pin (SDA) 3.5 Exposed Thermal Pad (EP) 4.0 Description of Device Operation 4.1 General Overview 4.2 Power-On-Reset (POR) FIGURE 4-1: POR Operation. 4.3 Internal Voltage Reference 4.4 Analog Input Channels 4.5 Input Voltage Range 4.6 Input Impedance 4.7 Aliasing and Anti-aliasing Filter 4.8 Self-Calibration 4.9 Digital Output Codes and Conversion to Real Values TABLE 4-1: Resolution Settings VS. LSB TABLE 4-2: Example of output code for 18 bits (Note 1, Note 2) TABLE 4-3: Minimum and Maximum Output codes (Note) TABLE 4-4: Example of converting output code to voltage (With 18 Bit Setting) 5.0 Using the Devices 5.1 Operating Modes 5.2 Configuration Register TABLE 5-1: Write Configuration Bits TABLE 5-2: READ Configuration Bits 5.3 I2C Serial Communications FIGURE 5-1: Address Byte. FIGURE 5-2: General Call Latch Command and Voltage Output at Address Pin Left “Floating” (MCP3423 and MCP3424). FIGURE 5-3: Timing Diagram For Writing To The MCP3422/3/4. TABLE 5-3: Output Codes of each Resolution OPTION FIGURE 5-4: Timing Diagram For Reading From The MCP3422/3/4 With 18-Bit Mode. FIGURE 5-5: Timing Diagram For Reading From The MCP3422/3/4 With 12-Bit to 16-Bit Modes. 5.4 General Call FIGURE 5-6: General Call Address Format. 5.5 High-Speed (HS) Mode 5.6 I2C Bus Characteristics FIGURE 5-7: Data Transfer Sequence on I2C Serial Bus. TABLE 5-4: I2c serial timing Specifications (Continued) FIGURE 5-8: I2C Bus Timing Data. 6.0 Basic Application Configuration 6.1 Connecting to the Application Circuits FIGURE 6-1: Typical Connection. FIGURE 6-2: Example of Multiple Device Connection on I2C Bus. FIGURE 6-3: I2C Bus Connection Test. FIGURE 6-4: Differential and Single- Ended Input Connections. 6.2 Application Examples FIGURE 6-5: Battery Voltage and Charging/Discharging Current Measurement. FIGURE 6-6: Four-Channel Thermocouple Applications. FIGURE 6-7: Example of Pressure and Temperature Measurement. 7.0 Development Tool Support 7.1 MCP3422/3/4 Evaluation Boards FIGURE 7-1: MCP3424 Evaluation Board. FIGURE 7-2: Setup for the MCP3424 Evaluation Board with PICkit™ Serial Analyzer. FIGURE 7-3: Example of PICkit™ Serial User Interface. 8.0 Packaging Information 8.1 Package Marking Information