Datasheet TC1320 (Microchip) - 2
| Fabricante | Microchip |
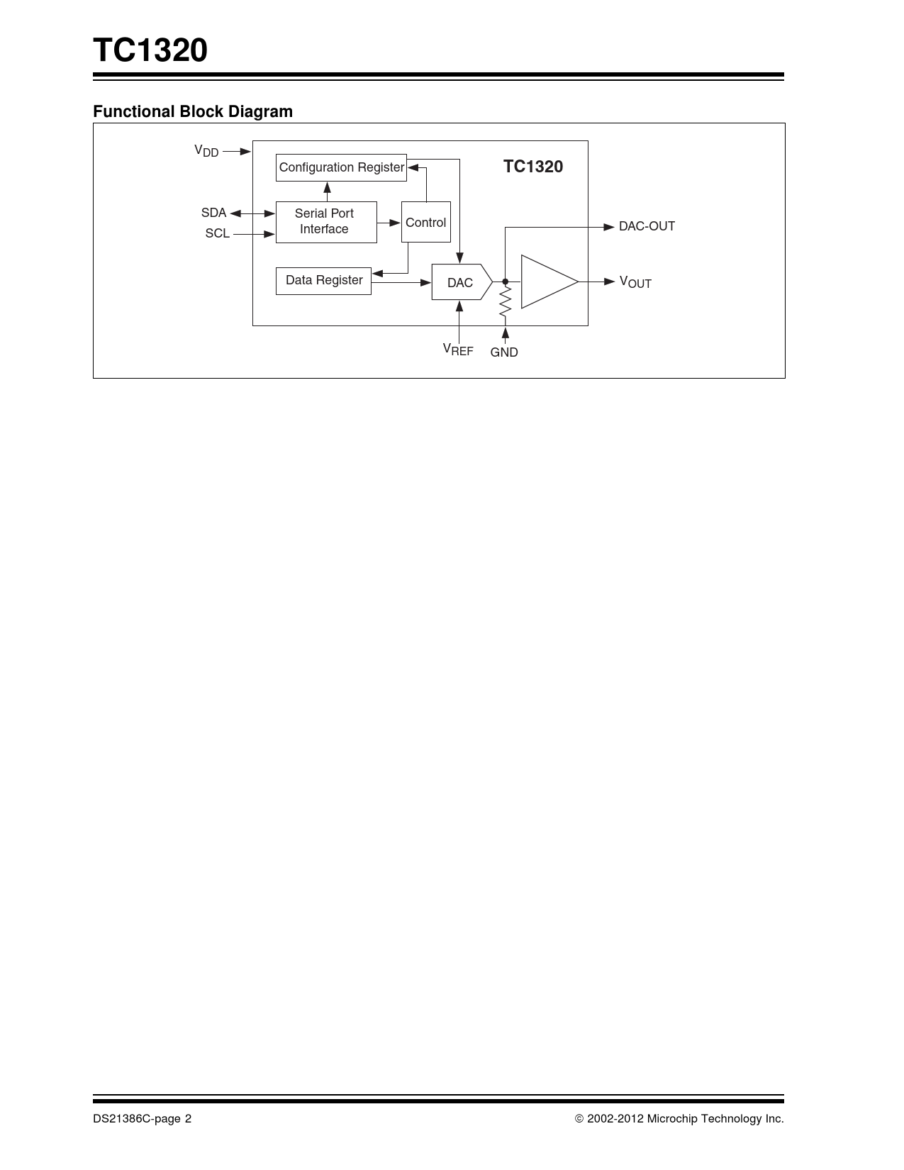
| Descripción | 8-Bit Digital-to-Analog Converter with Two-Wire Interface |
| Páginas / Página | 16 / 2 — TC1320. Functional Block Diagram |
| Formato / tamaño de archivo | PDF / 211 Kb |
| Idioma del documento | Inglés |
TC1320. Functional Block Diagram

Línea de modelo para esta hoja de datos
Versión de texto del documento
TC1320 Functional Block Diagram
VDD Configuration Register
TC1320
SDA Serial Port Control Interface DAC-OUT SCL Data Register DAC VOUT VREF GND DS21386C-page 2 2002-2012 Microchip Technology Inc.