Datasheet MCP1804 (Microchip) - 2
| Fabricante | Microchip |
| Descripción | 150 mA, 28V LDO Regulator With Shutdown |
| Páginas / Página | 36 / 2 — MCP1804. Functional Block Diagram. Typical Application Circuit |
| Revisión | 10-29-2013 |
| Formato / tamaño de archivo | PDF / 2.3 Mb |
| Idioma del documento | Inglés |
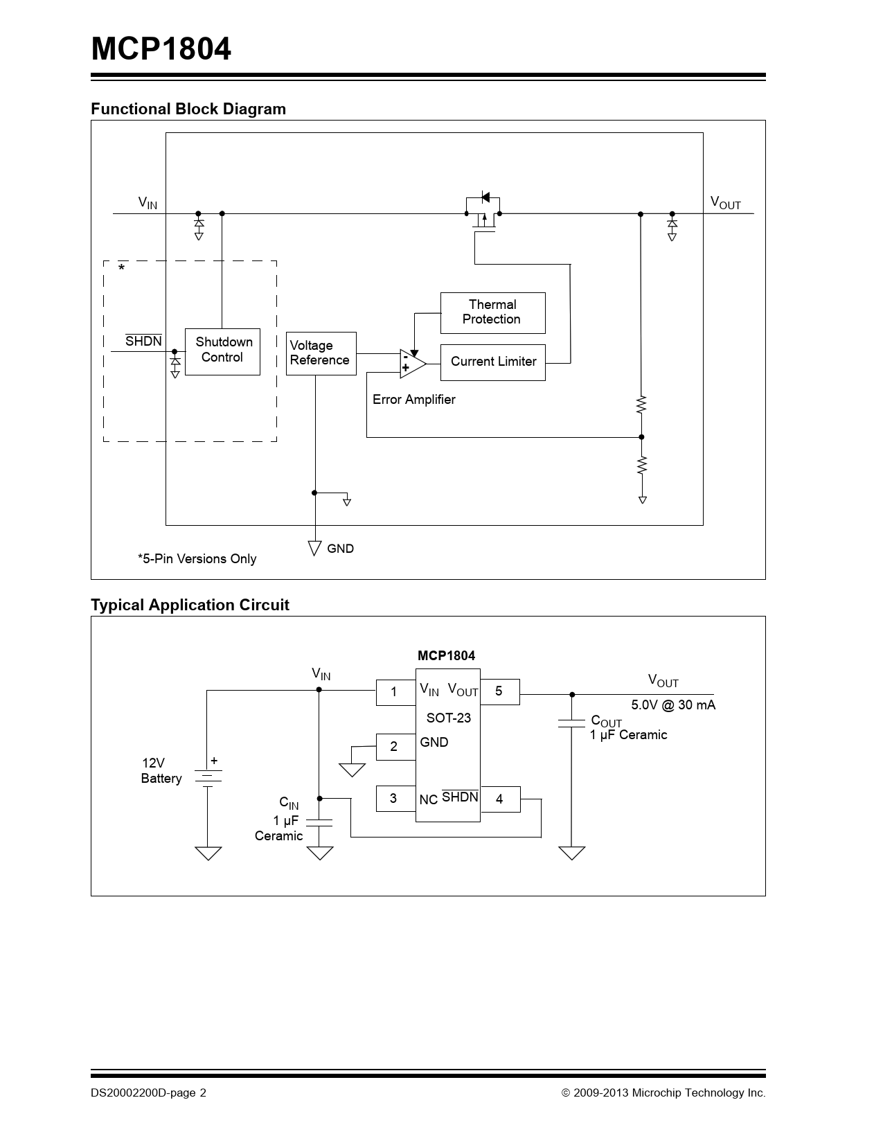
MCP1804. Functional Block Diagram. Typical Application Circuit

Línea de modelo para esta hoja de datos
Versión de texto del documento
MCP1804 Functional Block Diagram
VIN VOUT * Thermal Protection SHDN Shutdown Voltage Control
-
Reference
+
Current Limiter Error Amplifier GND *5-Pin Versions Only
Typical Application Circuit MCP1804
VIN V V OUT 1 IN VOUT 5 5.0V @ 30 mA SOT-23 COUT 1 µF Ceramic GND 2 12V + Battery C 3 SHDN NC 4 IN 1 µF Ceramic DS20002200D-page 2 2009-2013 Microchip Technology Inc. Document Outline Features Applications Related Literature Description Package Types Functional Block Diagram Typical Application Circuit 1.0 Electrical Characteristics Absolute Maximum Ratings 2.0 Typical Performance Curves FIGURE 2-1: Output Voltage vs. Output Current. FIGURE 2-2: Output Voltage vs. Output Current. FIGURE 2-3: Output Voltage vs. Output Current. FIGURE 2-4: Output Voltage vs. Output Current. FIGURE 2-5: Output Voltage vs. Output Current. FIGURE 2-6: Output Voltage vs. Output Current. FIGURE 2-7: Output Voltage vs. Input Voltage. FIGURE 2-8: Output Voltage vs. Input Voltage. FIGURE 2-9: Output Voltage vs. Input Voltage. FIGURE 2-10: Output Voltage vs. Input Voltage. FIGURE 2-11: Output Voltage vs. Input Voltage. FIGURE 2-12: Output Voltage vs. Input Voltage. FIGURE 2-13: Dropout Voltage vs. Load Current. FIGURE 2-14: Dropout Voltage vs. Load Current. FIGURE 2-15: Dropout Voltage vs. Load Current. FIGURE 2-16: Supply Current vs. Input Voltage. FIGURE 2-17: Supply Current vs. Input Voltage. FIGURE 2-18: Supply Current vs. Input Voltage. FIGURE 2-19: Supply Current vs. Input Voltage. FIGURE 2-20: Supply Current vs. Input Voltage. FIGURE 2-21: Supply Current vs. Input Voltage. FIGURE 2-22: Output Voltage vs. Ambient Temperature. FIGURE 2-23: Output Voltage vs. Ambient Temperature. FIGURE 2-24: Output Voltage vs. Ambient Temperature. FIGURE 2-25: Dynamic Line Response. FIGURE 2-26: Dynamic Line Response. FIGURE 2-27: Dynamic Line Response. FIGURE 2-28: Dynamic Line Response. FIGURE 2-29: Dynamic Line Response. FIGURE 2-30: Dynamic Line Response. FIGURE 2-31: Dynamic Load Response. FIGURE 2-32: Dynamic Load Response. FIGURE 2-33: Dynamic Load Response. FIGURE 2-34: Start-up Response. FIGURE 2-35: Start-up Response. FIGURE 2-36: Start-up Response. FIGURE 2-37: Start-up Response. FIGURE 2-38: Start-up Response. FIGURE 2-39: Start-up Response. FIGURE 2-40: SHDN Response. FIGURE 2-41: SHDN Response. FIGURE 2-42: SHDN Response. FIGURE 2-43: SHDN Response. FIGURE 2-44: SHDN Response. FIGURE 2-45: SHDN Response. FIGURE 2-46: PSRR 3.3V @ 1 mA. FIGURE 2-47: PSRR 5.0V @ 1 mA. FIGURE 2-48: PSRR 12.0V @ 1 mA. FIGURE 2-49: PSRR 3.3V @ 30 mA. FIGURE 2-50: PSRR 5.0V @ 30 mA. FIGURE 2-51: PSRR 12V @ 30 mA. FIGURE 2-52: Ground Current vs. Output Current. FIGURE 2-53: Ground Current vs. Output Current. FIGURE 2-54: Ground Current vs. Output Current. FIGURE 2-55: Output Noise vs. Frequency. 3.0 Pin Descriptions TABLE 3-1: MCP1804 Pin Function Table 3.1 Unregulated Input Voltage (VIN) 3.2 Ground Terminal (GND) 3.3 Shutdown Input (SHDN) 3.4 Regulated Output Voltage (VOUT) 3.5 No Connect (NC) 4.0 Detailed Description 4.1 Output Regulation 4.2 Overcurrent 4.3 Shutdown 4.4 Output Capacitor 4.5 Input Capacitor 4.6 Thermal Shutdown FIGURE 4-1: Block Diagram. 5.0 Functional Description 5.1 Input 5.2 Output 6.0 Application Circuits and Issues 6.1 Typical Application FIGURE 6-1: Typical Application Circuit. 6.1.1 Application Input Conditions 6.2 Power Calculations 6.2.1 Power Dissipation 6.3 Voltage Regulator 6.3.1 Power Dissipation Example 6.3.1.1 Device Junction Temperature Rise 6.3.1.2 Junction Temperature Estimate 6.4 Voltage Reference FIGURE 6-2: Using the MCP1804 as a Voltage Reference. 6.5 Pulsed Load Applications 7.0 Packaging Information 7.1 Package Marking Information Appendix A: Revision History Product Identification System Trademarks Worldwide Sales and Service