Datasheet TC4421A, TC4422A (Microchip) - 2

FabricanteMicrochip
Descripción9A High-Speed MOSFET Drivers
Páginas / Página22 / 2 — TC4421A/TC4422A. Functional Block Diagram. TC4421A. TC4422A
Revisión02-05-2013
Formato / tamaño de archivoPDF / 375 Kb
Idioma del documentoInglés

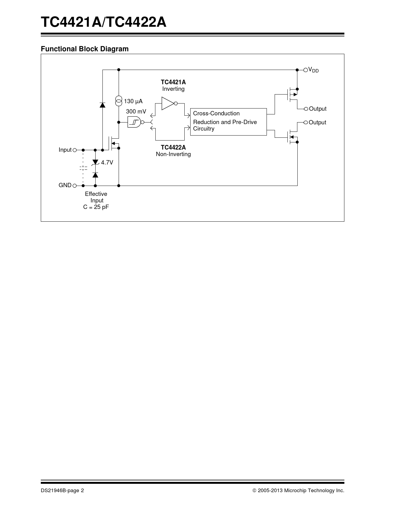
TC4421A/TC4422A. Functional Block Diagram. TC4421A. TC4422A

TC4421A/TC4422A Functional Block Diagram TC4421A TC4422A

Línea de modelo para esta hoja de datos

Versión de texto del documento

TC4421A/TC4422A Functional Block Diagram
VDD
TC4421A
Inverting 130 µA 300 mV Output Cross-Conduction Reduction and Pre-Drive Output Circuitry Input
TC4422A
Non-Inverting 4.7V GND Effective Input C = 25 pF DS21946B-page 2  2005-2013 Microchip Technology Inc. Document Outline 1.0 Electrical Characteristics 2.0 Typical Performance Curves FIGURE 2-1: Rise Time vs. Supply Voltage. FIGURE 2-2: Rise Time vs. Capacitive Load. FIGURE 2-3: Fall Time vs. Supply Voltage. FIGURE 2-4: Fall Time vs. Capacitive Load. FIGURE 2-5: Rise and Fall Times vs. Temperature. FIGURE 2-6: Crossover Energy vs Supply Voltage. FIGURE 2-7: Propagation Delay vs. Supply Voltage. FIGURE 2-8: Propagation Delay vs. Input Amplitude. FIGURE 2-9: Propagation Delay vs. Temperature. FIGURE 2-10: Quiescent Supply Current vs. Supply Voltage. FIGURE 2-11: Quiescent Supply Current vs. Temperature. FIGURE 2-12: Input Threshold vs. Temperature. FIGURE 2-13: Input Threshold vs. Supply Voltage. FIGURE 2-14: High-State Output Resistance vs. Supply Voltage. FIGURE 2-15: Low-State Output Resistance vs. Supply Voltage. FIGURE 2-16: Supply Current vs. Capactive Load (VDD = 18V). FIGURE 2-17: Supply Current vs. Capactive Load (VDD = 12V). FIGURE 2-18: Supply Current vs. Capactive Load (VDD = 6V). FIGURE 2-19: Supply Current vs. Frequency (VDD = 18V). FIGURE 2-20: Supply Current vs. Frequency (VDD = 12V). FIGURE 2-21: Supply Current vs. Frequency (VDD = 6V). 3.0 Pin Descriptions TABLE 3-1: Pin Function Table 3.1 Supply Input (VDD) 3.2 Control Input 3.3 CMOS Push-Pull Output 3.4 Ground 3.5 Exposed Metal Pad 3.6 Metal Tab 4.0 Applications Information FIGURE 4-1: Switching Time Test Circuits. 5.0 Packaging Information 5.1 Package Marking Information Corporate Office Atlanta Boston Chicago Cleveland Fax: 216-447-0643 Dallas Detroit Indianapolis Toronto Fax: 852-2401-3431 Australia - Sydney China - Beijing China - Shanghai India - Bangalore Korea - Daegu Korea - Seoul Singapore Taiwan - Taipei Fax: 43-7242-2244-393 Denmark - Copenhagen France - Paris Germany - Munich Italy - Milan Spain - Madrid UK - Wokingham Worldwide Sales and Service