Datasheet KS8995E (Microchip) - 6

FabricanteMicrochip
Descripción5-Port 10/100 Integrated Switch with PHY and Frame Buffer
Páginas / Página41 / 6 — KS8995E Micrel. public network access. The major benefits of using the. …
Formato / tamaño de archivoPDF / 201 Kb
Idioma del documentoInglés

KS8995E Micrel. public network access. The major benefits of using the. KS8995E are the lower power consumption, unmanaged

KS8995E Micrel public network access The major benefits of using the KS8995E are the lower power consumption, unmanaged

Línea de modelo para esta hoja de datos

Versión de texto del documento

KS8995E Micrel
public network access. The major benefits of using the
KS8995E are the lower power consumption, unmanaged
operation, flexible configuration, built in frame buffering,
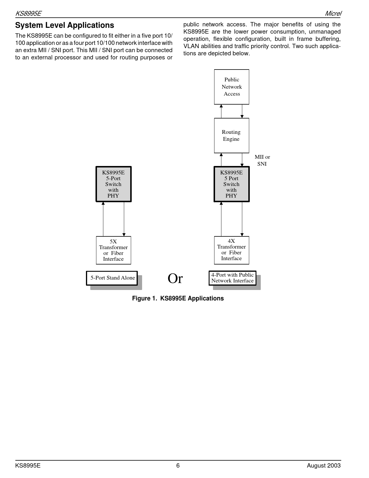
VLAN abilities and traffic priority control. Two such applications are depicted below. System Level Applications
The KS8995E can be configured to fit either in a five port 10/
100 application or as a four port 10/100 network interface with
an extra MII / SNI port. This MII / SNI port can be connected
to an external processor and used for routing purposes or Public
Network
Access Routing
Engine
MII or
SNI
KS8995E
5-Port
Switch
with
PHY KS8995E
5 Port
Switch
with
PHY 5X
Transformer
or Fiber
Interface 4X
Transformer
or Fiber
Interface 5-Port Stand Alone Or 4-Port with Public
Network Interface Figure 1. KS8995E Applications KS8995E 6 August 2003