Datasheet LT3652 (Analog Devices) - 9
| Fabricante | Analog Devices |
| Descripción | Power Tracking 2A Battery Charger for Solar Power |
| Páginas / Página | 26 / 9 — BLOCK DIAGRAM |
| Formato / tamaño de archivo | PDF / 534 Kb |
| Idioma del documento | Inglés |
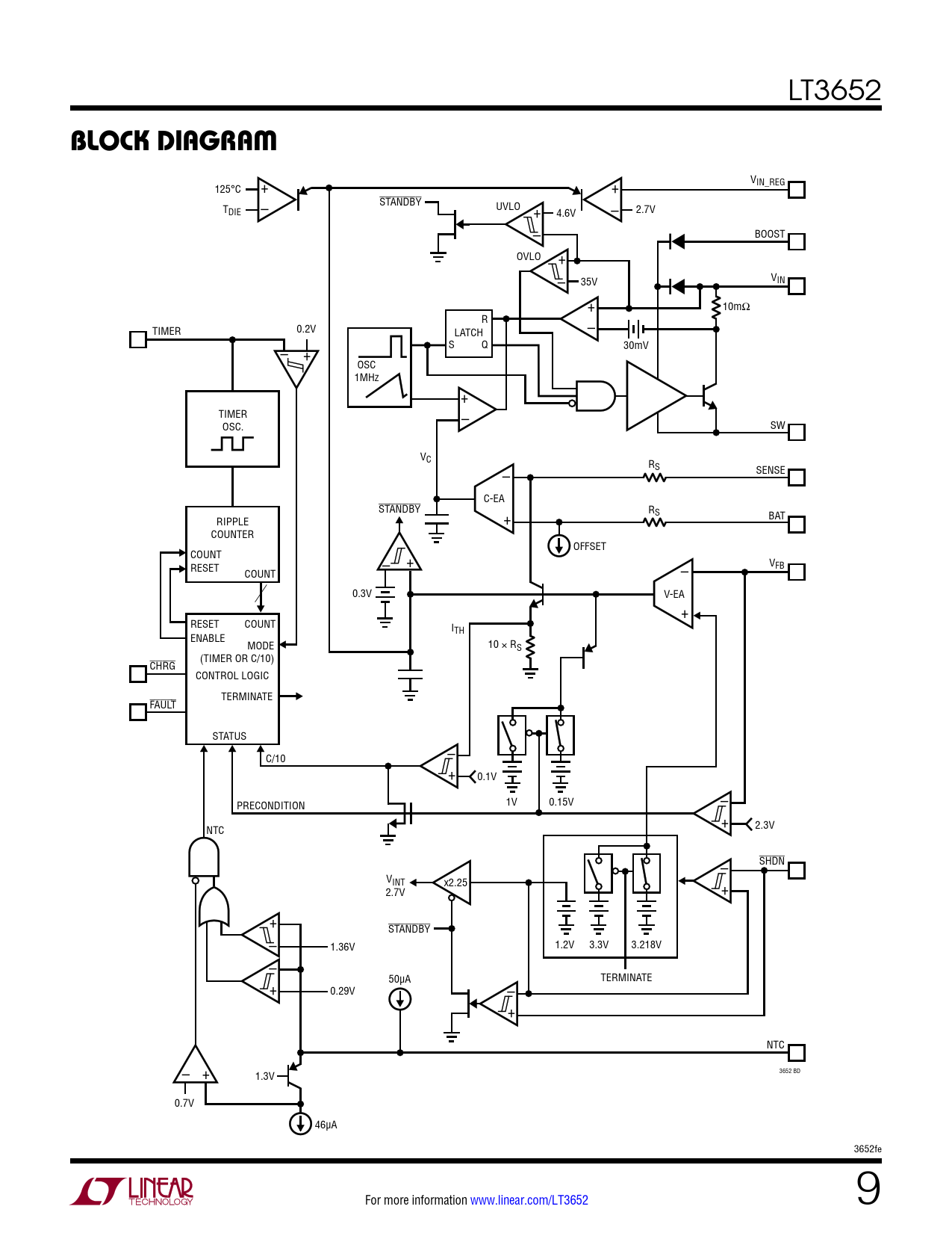
BLOCK DIAGRAM

Línea de modelo para esta hoja de datos
Versión de texto del documento
LT3652
BLOCK DIAGRAM
+ 125°C + VIN_REG STANDBY – T + DIE – UVLO 4.6V 2.7V – BOOST OVLO + – 35V VIN + 10mΩ R TIMER 0.2V LATCH – – + S Q 30mV OSC 1MHz + TIMER – OSC. SW VC RS SENSE – C-EA STANDBY RS BAT RIPPLE + COUNTER OFFSET COUNT – + RESET COUNT – VFB 0.3V V-EA + RESET COUNT ITH ENABLE MODE 10 × RS (TIMER OR C/10) CHRG CONTROL LOGIC TERMINATE FAULT STATUS – C/10 + 0.1V – PRECONDITION 1V 0.15V + 2.3V NTC – SHDN VINT x2.25 + 2.7V + – STANDBY 1.36V 1.2V 3.3V 3.218V – + 50µA – TERMINATE 0.29V + NTC 3652 BD – + 1.3V 0.7V 46µA 3652fe For more information www.linear.com/LT3652 9 Document Outline Description Typical Application Absolute Maximum Ratings Pin Configuration Electrical Characteristics Typical Performance Characteristics Pin Functions Block Diagram Applications Information Package Description Typical Application Related Parts