Datasheet LTC3642 (Analog Devices) - 7
| Fabricante | Analog Devices |
| Descripción | High Efficiency, High Voltage 50mA Synchronous Step-Down Converter |
| Páginas / Página | 22 / 7 — BLOCK DIAGRAM. 0.800V. PART. NUMBER |
| Formato / tamaño de archivo | PDF / 1.8 Mb |
| Idioma del documento | Inglés |
BLOCK DIAGRAM. 0.800V. PART. NUMBER

Línea de modelo para esta hoja de datos
Versión de texto del documento
LTC3642
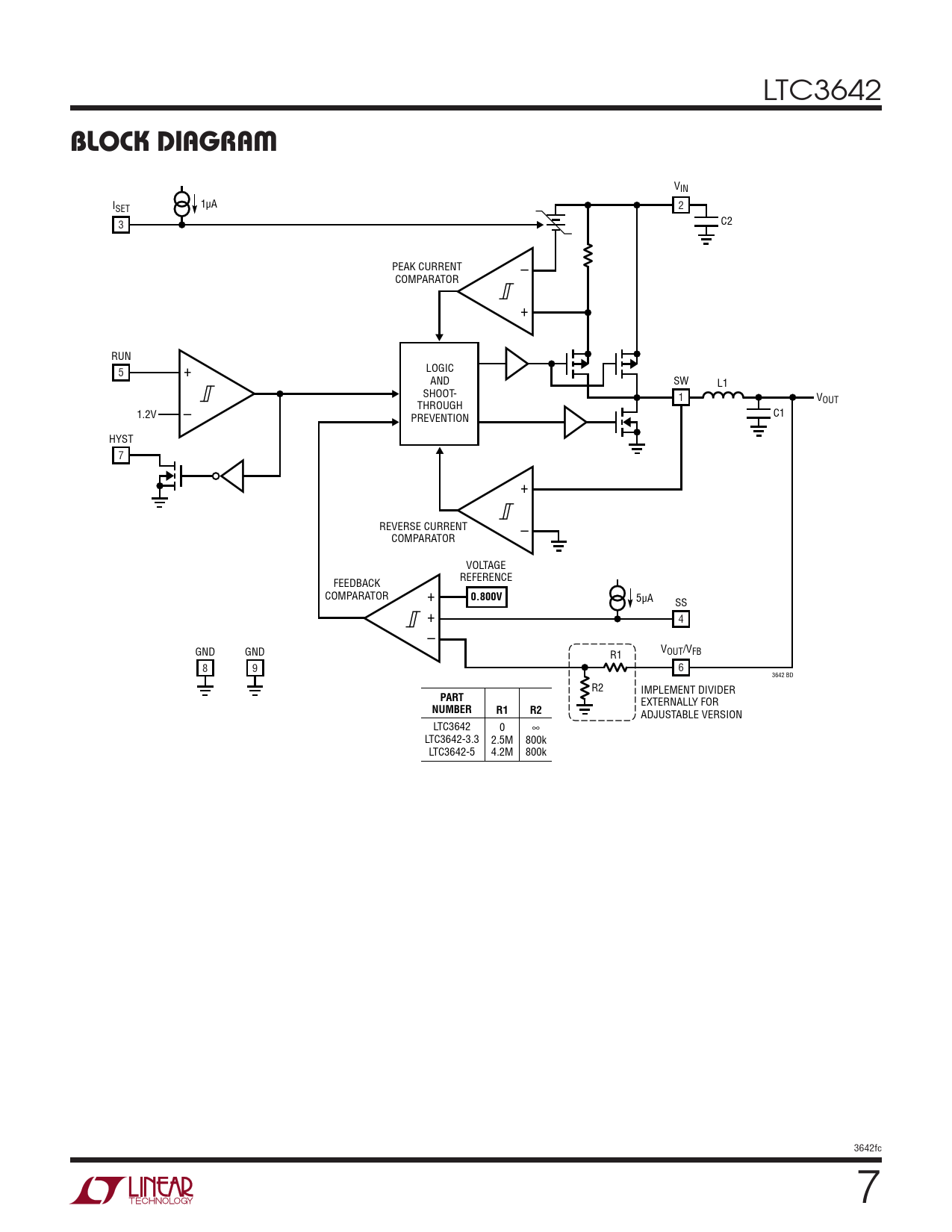
BLOCK DIAGRAM
VIN ISET 1µA 2 3 C2 – PEAK CURRENT COMPARATOR + RUN 5 + LOGIC AND SW L1 SHOOT- 1 VOUT 1.2V – THROUGH PREVENTION C1 HYST 7 + REVERSE CURRENT – COMPARATOR VOLTAGE REFERENCE FEEDBACK COMPARATOR +
0.800V
5µA SS + 4 – GND GND R1 VOUT/VFB 8 9 6 3642 BD R2 IMPLEMENT DIVIDER
PART
EXTERNALLY FOR
NUMBER R1 R2
ADJUSTABLE VERSION LTC3642 0 ∞ LTC3642-3.3 2.5M 800k LTC3642-5 4.2M 800k 3642fc 7 Document Outline FEATURES DESCRIPTION APPLICATIONS TYPICAL APPLICATION ABSOLUTE MAXIMUM RATINGS PIN CONFIGURATION ORDER INFORMATION ELECTRICAL CHARACTERISTICS TYPICAL PERFORMANCE CHARACTERISTICS PIN FUNCTIONS BLOCK DIAGRAM OPERATION APPLICATIONS INFORMATION TYPICAL APPLICATIONS PACKAGE DESCRIPTION REVISION HISTORY TYPICAL APPLICATION RELATED PARTS