Datasheet AD4112 (Analog Devices) - 4
| Fabricante | Analog Devices |
| Descripción | Single Supply, 24-Bit, Sigma-Delta ADC with ±10 V and 0 mA to 20 mA Inputs |
| Páginas / Página | 58 / 4 — AD4112. Data Sheet. FUNCTIONAL BLOCK DIAGRAM. AVDD REGCAPA. REF–. REF+. … |
| Revisión | A |
| Formato / tamaño de archivo | PDF / 666 Kb |
| Idioma del documento | Inglés |
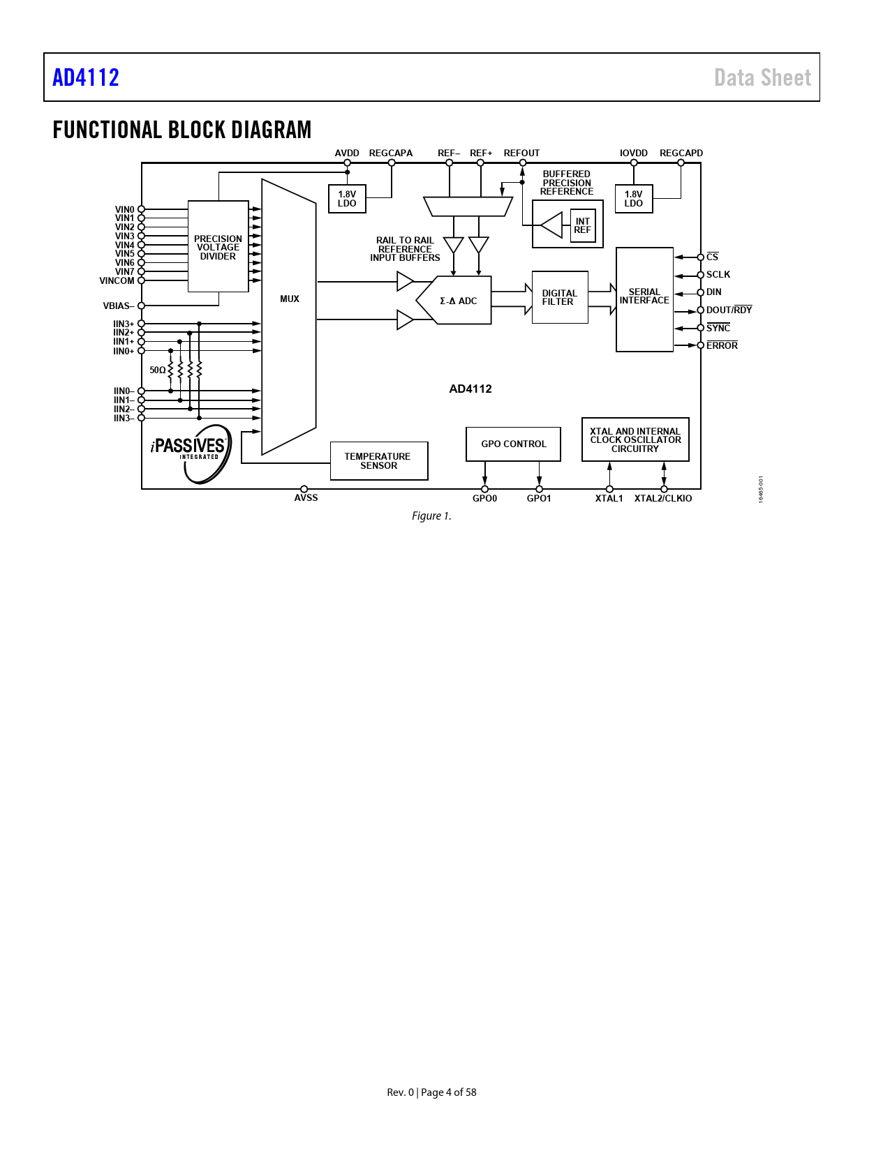
AD4112. Data Sheet. FUNCTIONAL BLOCK DIAGRAM. AVDD REGCAPA. REF–. REF+. REFOUT. IOVDD. REGCAPD. BUFFERED. PRECISION. 1.8V. REFERENCE. LDO. VIN0. VIN1

Línea de modelo para esta hoja de datos
Versión de texto del documento
AD4112 Data Sheet FUNCTIONAL BLOCK DIAGRAM AVDD REGCAPA REF– REF+ REFOUT IOVDD REGCAPD BUFFERED PRECISION 1.8V REFERENCE 1.8V LDO LDO VIN0 VIN1 INT VIN2 REF VIN3 PRECISION RAIL TO RAIL VIN4 VOLTAGE REFERENCE VIN5 DIVIDER INPUT BUFFERS CS VIN6 VIN7 SCLK VINCOM DIGITAL SERIAL DIN MUX Σ-∆ ADC FILTER INTERFACE VBIAS– DOUT/RDY IIN3+ SYNC IIN2+ IIN1+ ERROR IIN0+ 50Ω IIN0– AD4112 IIN1– IIN2– IIN3– XTAL AND INTERNAL CLOCK OSCILLATOR GPO CONTROL CIRCUITRY TEMPERATURE SENSOR
1 0 0 5-
AVSS GPO0 GPO1 XTAL1
646
XTAL2/CLKIO
1 Figure 1. Rev. 0 | Page 4 of 58 Document Outline FEATURES APPLICATIONS GENERAL DESCRIPTION TABLE OF CONTENTS REVISION HISTORY FUNCTIONAL BLOCK DIAGRAM SPECIFICATIONS TIMING CHARACTERISTICS Timing Diagrams ABSOLUTE MAXIMUM RATINGS THERMAL RESISTANCE ESD CAUTION PIN CONFIGURATION AND FUNCTION DESCRIPTIONS TYPICAL PERFORMANCE CHARACTERISTICS NOISE PERFORMANCE AND RESOLUTION THEORY OF OPERATION POWER SUPPLIES Single-Supply Operation (AVSS = DGND) DIGITAL COMMUNICATION AD4112 RESET CONFIGURATION OVERVIEW Channel Configuration Channel Registers ADC Setups Setup Configuration Registers Filter Configuration Registers Gain Registers Offset Registers ADC Mode and Interface Mode Configuration ADC Mode Register Interface Mode Register CIRCUIT DESCRIPTION MULTIPLEXER CURRENT INPUTS VOLTAGE INPUTS Fully Differential Inputs Single-Ended Inputs Adjusting Voltage Input Gain AD4112 REFERENCE Internal Reference External Reference BUFFERED REFERENCE INPUT CLOCK SOURCE Internal Oscillator External Crystal External Clock DIGITAL FILTER SINC5 + SINC1 FILTER SINC3 FILTER SINGLE CYCLE SETTLING ENHANCED 50 Hz AND 60 Hz REJECTION FILTERS OPERATING MODES CONTINUOUS CONVERSION MODE CONTINUOUS READ MODE SINGLE CONVERSION MODE STANDBY AND POWER-DOWN MODES CALIBRATION DIGITAL INTERFACE CHECKSUM PROTECTION CRC CALCULATION Polynomial Example of a Polynomial CRC Calculation—24-Bit Word: 0x654321 (Eight Command Bits and 16-Bit Data) XOR Calculation Example of an XOR Calculation—24-Bit Word: 0x654321 (Eight Command Bits and 16-Bit Data) INTEGRATED FUNCTIONS GENERAL-PURPOSE OUPUTS DELAY 16-BIT/24-BIT CONVERSIONS DOUT_RESET SYNCHRONIZATION Normal Synchronization Alternate Synchronization ERROR FLAGS ADC_ERROR CRC_ERROR REG_ERROR ERRORB Input/Output DATA_STAT IOSTRENGTH INTERNAL TEMPERATURE SENSOR APPLICATIONS INFORMATION GROUNDING AND LAYOUT REGISTER SUMMARY REGISTER DETAILS COMMUNICATIONS REGISTER STATUS REGISTER ADC MODE REGISTER INTERFACE MODE REGISTER REGISTER CHECK DATA REGISTER GPIO CONFIGURATION REGISTER ID REGISTER CHANNEL REGISTER 0 CHANNEL REGISTER 1 TO CHANNEL REGISTER 15 SETUP CONFIGURATION REGISTER 0 SETUP CONFIGURATION REGISTER 1 TO SETUP CONFIGURATION REGISTER 7 FILTER CONFIGURATION REGISTER 0 FILTER CONFIGURATION REGISTER 1 TO FILTER CONFIGURATION REGISTER 7 OFFSET REGISTER 0 OFFSET REGISTER 1 TO OFFSET REGISTER 7 GAIN REGISTER 0 GAIN REGISTER 1 TO GAIN REGISTER 7 OUTLINE DIMENSIONS ORDERING GUIDE