Datasheet TCR8BM (Toshiba) - 4
| Fabricante | Toshiba |
| Descripción | Low Dropout (LDO) Linear Voltage Regulator |
| Páginas / Página | 11 / 4 — TCR8BM series. Block Diagram. VIN. VOUT. Under. *Option. voltage. VBIAS. … |
| Formato / tamaño de archivo | PDF / 722 Kb |
| Idioma del documento | Inglés |
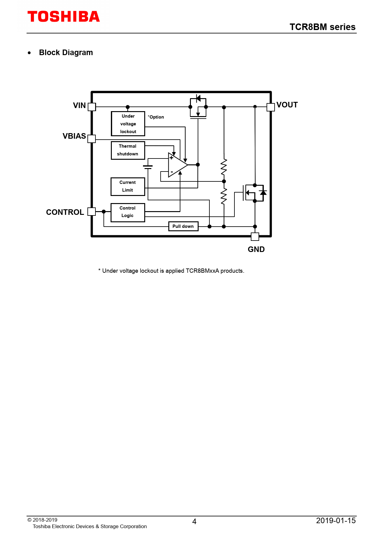
TCR8BM series. Block Diagram. VIN. VOUT. Under. *Option. voltage. VBIAS. lockout. Thermal. shutdown. Current. Limit. CONTROL. Control. Logic. Pull down

Línea de modelo para esta hoja de datos
Versión de texto del documento
TCR8BM series
•
Block Diagram VIN VOUT Under *Option voltage VBIAS lockout Thermal shutdown + - Current Limit CONTROL Control Logic Pull down GND
* Under voltage lockout is applied TCR8BMxxA products. © 2018-2019 4 2019-01-15 Toshiba Electronic Devices & Storage Corporation