Datasheet ILD8150, ILD8150E (Infineon) - 4
| Fabricante | Infineon |
| Descripción | 80V DC-DC buck LED driver IC with hybrid dimming down to 0.5% |
| Páginas / Página | 19 / 4 — ILD8150/ILD8150E. LED driver IC for high power LEDs with hybrid dimming … |
| Revisión | 01_00 |
| Formato / tamaño de archivo | PDF / 517 Kb |
| Idioma del documento | Inglés |
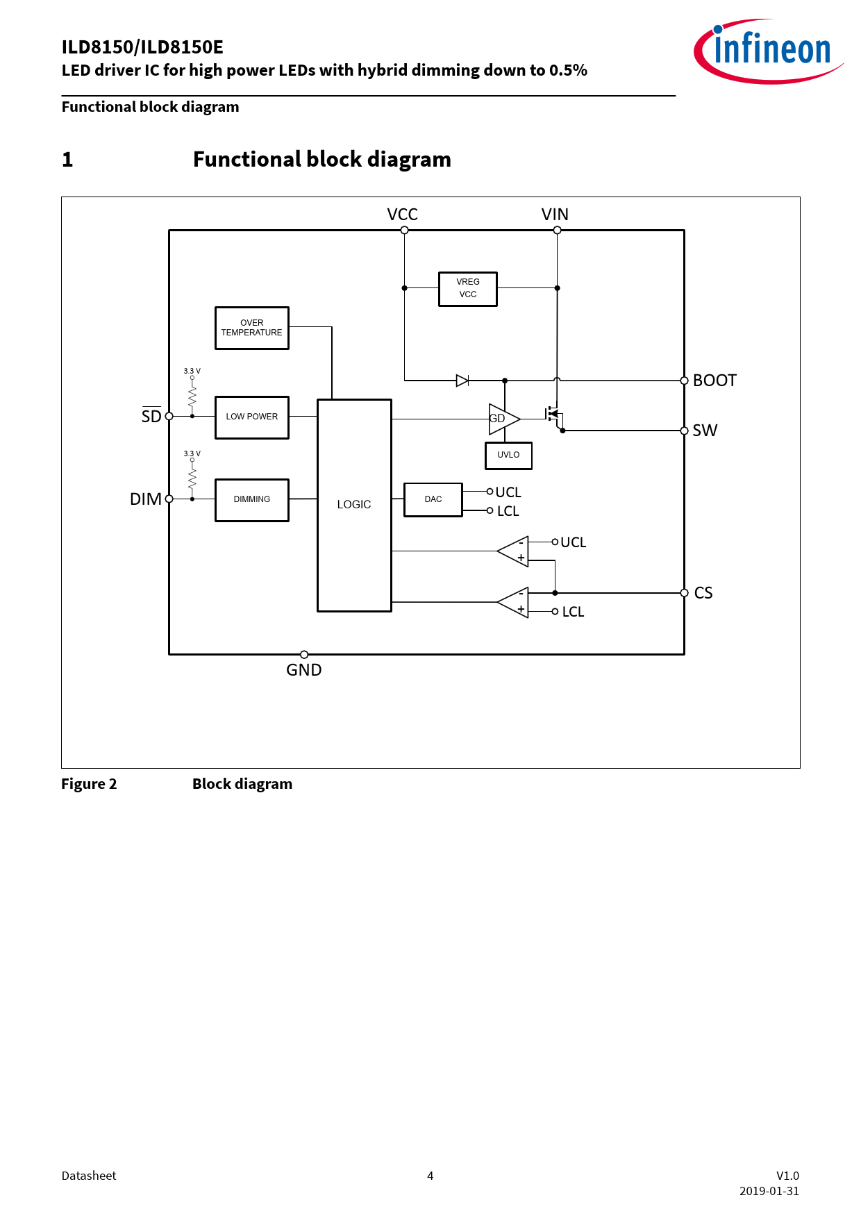
ILD8150/ILD8150E. LED driver IC for high power LEDs with hybrid dimming down to 0.5%. Functional block diagram. Figure 2

Línea de modelo para esta hoja de datos
Versión de texto del documento
ILD8150/ILD8150E LED driver IC for high power LEDs with hybrid dimming down to 0.5% Functional block diagram 1 Functional block diagram
VCC VIN VREG VCC OVER TEMPERATURE 3.3 V BOOT SD LOW POWER GD SW 3.3 V UVLO UCL DIMMING DIM LOGIC DAC LCL - UCL + - CS + LCL GND
Figure 2 Block diagram
Datasheet 4 V1.0 2019-01-31 Document Outline Features Potential applications Description Table of contents 1 Functional block diagram 2 Pin configuration 3 Functional description 3.1 Buck controller features 3.1.1 Output current regulation 3.1.2 Dimming 3.1.3 Digital soft-start 3.1.4 Low power mode 3.2 Protection features 3.2.1 Over-temperature protection 3.2.2 Under-voltage protection 4 Thermal and electrical characteristics 4.1 Package characteristics 4.2 Absolute maximum ratings 4.3 Operating conditions 4.4 Electrical characteristics 5 Package dimensions Disclaimer