Datasheet S-19213 (ABLIC) - 2

FabricanteABLIC
DescripciónAutomotive, 125°C Operation, 36 V Input, 500 mA Voltage Regulator
Páginas / Página46 / 2 — AUTOMOTIVE, 125°C OPERATION, 36 V INPUT, 500 mA VOLTAGE REGULATOR S-19213 …
Formato / tamaño de archivoPDF / 773 Kb
Idioma del documentoInglés

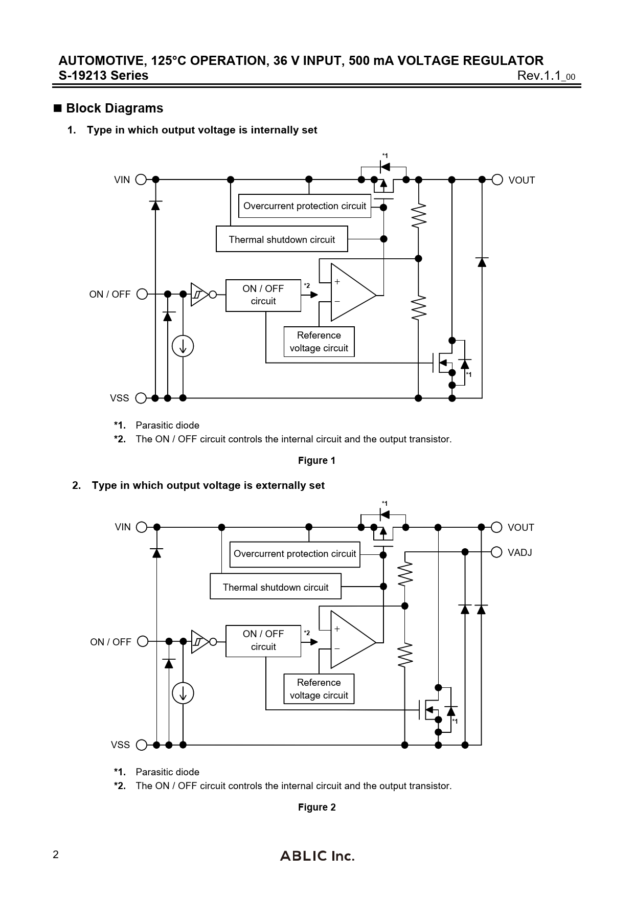
AUTOMOTIVE, 125°C OPERATION, 36 V INPUT, 500 mA VOLTAGE REGULATOR S-19213 Series. Block Diagrams

AUTOMOTIVE, 125°C OPERATION, 36 V INPUT, 500 mA VOLTAGE REGULATOR S-19213 Series Block Diagrams

Línea de modelo para esta hoja de datos

Versión de texto del documento

AUTOMOTIVE, 125°C OPERATION, 36 V INPUT, 500 mA VOLTAGE REGULATOR S-19213 Series
Rev.1.1_00
Block Diagrams 1. Type in which output voltage is internally set *1
VIN VOUT Overcurrent protection circuit Thermal shutdown circuit + ON / OFF
*2
ON / OFF circuit − Reference voltage circuit
*1
VSS
*1.
Parasitic diode
*2.
The ON / OFF circuit controls the internal circuit and the output transistor.
Figure 1 2. Type in which output voltage is externally set *1
VIN VOUT Overcurrent protection circuit VADJ Thermal shutdown circuit ON / OFF +
*2
ON / OFF circuit − Reference voltage circuit
*1
VSS
*1.
Parasitic diode
*2.
The ON / OFF circuit controls the internal circuit and the output transistor.
Figure 2
2