Datasheet 5L1503 (IDT) - 3
| Fabricante | IDT |
| Descripción | MicroClock Programmable Clock Generator |
| Páginas / Página | 29 / 3 — Block Diagram. Pin Assignments Figure 1. Pin Assignments for 2.0 × 2.0 mm … |
| Revisión | 20190619 |
| Formato / tamaño de archivo | PDF / 417 Kb |
| Idioma del documento | Inglés |
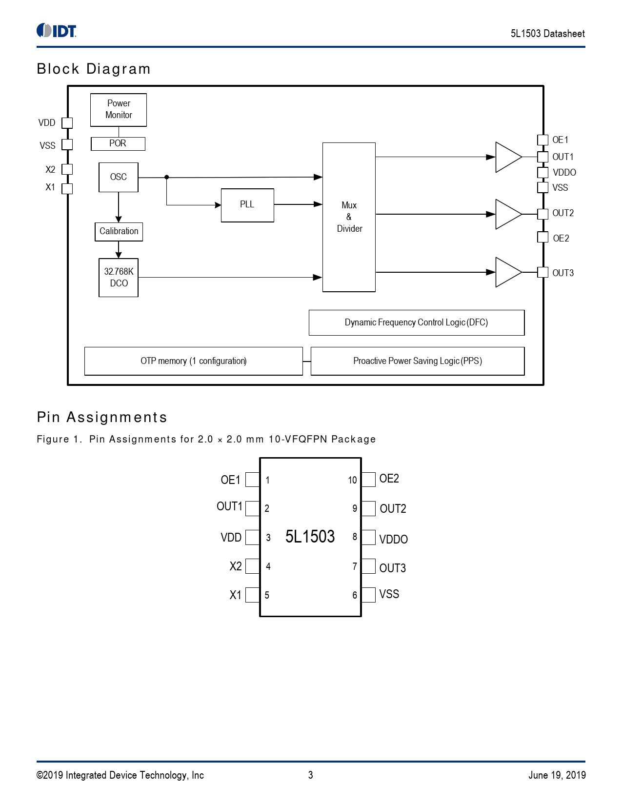
Block Diagram. Pin Assignments Figure 1. Pin Assignments for 2.0 × 2.0 mm 10-VFQFPN Package

Línea de modelo para esta hoja de datos
Versión de texto del documento
5L1503 Datasheet
Block Diagram
Power Monitor VDD OE1 POR VSS OUT1 X2 OSC VDDO X1 VSS PLL Mux OUT2 & Calibration Divider OE2 32.768K OUT3 DCO Dynamic Frequency Control Logic (DFC) OTP memory (1 configuration) Proactive Power Saving Logic (PPS)
Pin Assignments Figure 1. Pin Assignments for 2.0 × 2.0 mm 10-VFQFPN Package
OE1 1 10 OE2 OUT1 2 9 OUT2 VDD 3 5L1503 8 VDDO X2 4 7 OUT3 X1 5 6 VSS ©2019 Integrated Device Technology, Inc 3 June 19, 2019 Document Outline Description Typical Applications Features Output Features Key Specifications Block Diagram Pin Assignments Figure 1. Pin Assignments for 2.0 × 2.0 mm 10-VFQFPN Package Pin Descriptions Table 1. Pin Descriptions Device Feature and Function DFC – Dynamic Frequency Control Figure 2. DFC Function Block Diagram Table 2. DFC Function Priority DFC Function Programming PPS – Proactive Power Saving Function Figure 3. PPS Function Block Diagram Figure 4. PPS Assertion/Deassertion Timing Chart PPS Function Programming Output Divider Selection Table 3. Output Divider Selection Device Output Support 5L1503 5L1503L 5L1503S OE Pin Function Table 4. OE Pin Function Table 5. OE Pin Function Summary Table 6. PD# Priority Spread Spectrum Spread Spectrum Digital Spread Spectrum Figure 5. Digital Spread Spectrum Reference Input and Selection Crystal Input (X1/X2) Table 7. Programmable Tuning Capacitors Figure 6. Crystal Oscillator Reference Circuit Absolute Maximum Ratings Table 8. Absolute Maximum Ratings Thermal Characteristics Table 9. Thermal Characteristics Recommended Operating Conditions Table 10. Recommended Operating Conditions Crystal Characteristics Table 11. Crystal Characteristics DC Electrical Characteristics Table 12. DC Electrical Characteristics – Current Table 13. DC Electrical Characteristics – Input and Output Voltage AC Electrical Characteristics Table 14. AC Timing Electrical Characteristics I2C Bus DC Characteristics Table 15. I2C Bus DC Characteristics Table 16. I2C Bus AC Characteristics Spread Spectrum Generation Specifications Table 17. Spread Spectrum Generation Specifications (5L1503S only) General I2C Interface Information How to Write How to Read Glossary of Features Table 18. Glossary of Features Package Outline Drawings Ordering Information Marking Diagrams Revision History