Datasheet ATA663431, ATA663454 (Microchip) - 3

FabricanteMicrochip
DescripciónLIN SBC including LIN Transceiver, Voltage Regulator, Window Watchdog and High-Side Switch
Páginas / Página40 / 3 — ATA663431/54. 1.0. FUNCTIONAL DESCRIPTION. 1.1. Physical Layer …
Formato / tamaño de archivoPDF / 1.1 Mb
Idioma del documentoInglés

ATA663431/54. 1.0. FUNCTIONAL DESCRIPTION. 1.1. Physical Layer Compatibility. 1.2. Operating Modes. FIGURE 1-1:. OPERATING MODES

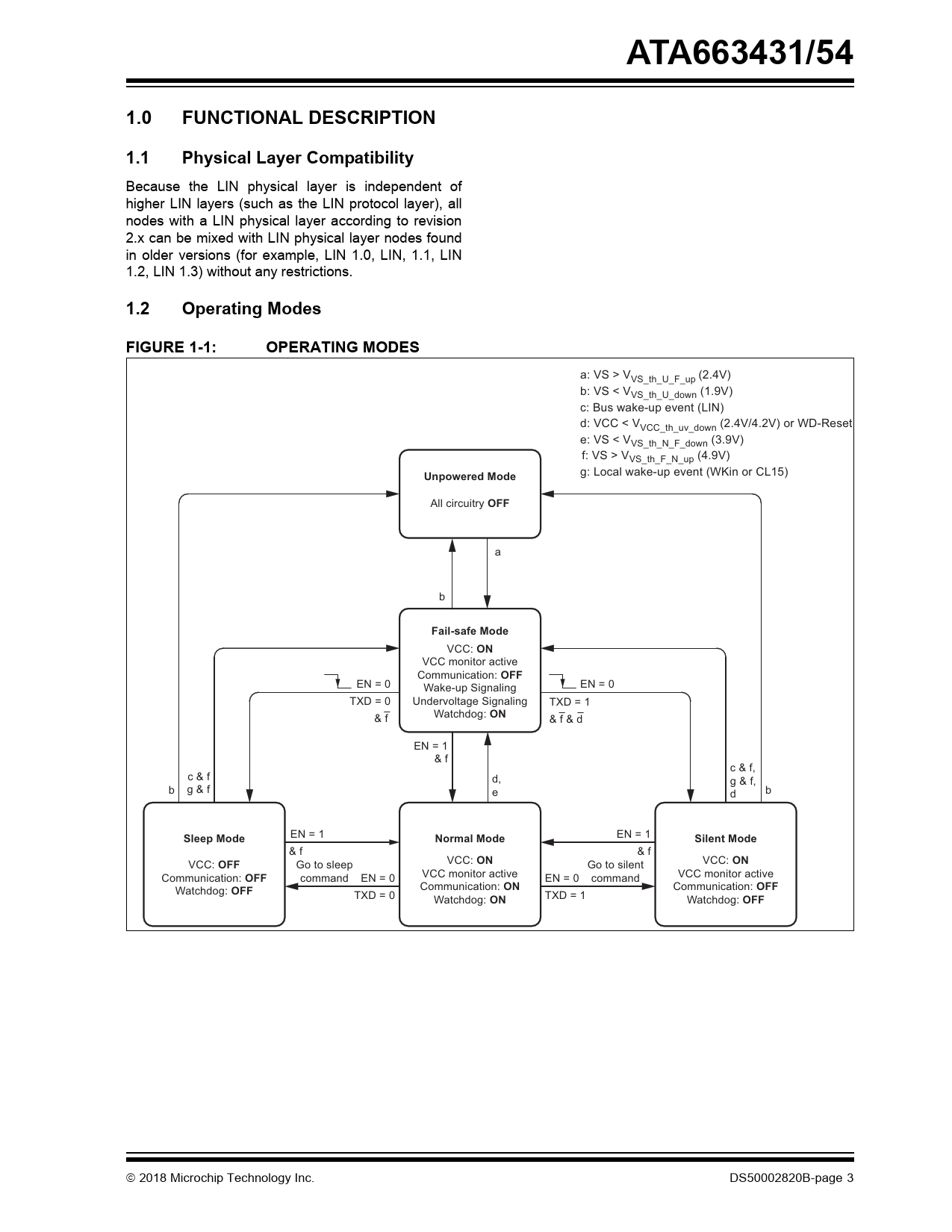
ATA663431/54 1.0 FUNCTIONAL DESCRIPTION 1.1 Physical Layer Compatibility 1.2 Operating Modes FIGURE 1-1: OPERATING MODES

Línea de modelo para esta hoja de datos

Versión de texto del documento

ATA663431/54 1.0 FUNCTIONAL DESCRIPTION 1.1 Physical Layer Compatibility
Because the LIN physical layer is independent of higher LIN layers (such as the LIN protocol layer), all nodes with a LIN physical layer according to revision 2.x can be mixed with LIN physical layer nodes found in older versions (for example, LIN 1.0, LIN, 1.1, LIN 1.2, LIN 1.3) without any restrictions.
1.2 Operating Modes FIGURE 1-1: OPERATING MODES
a: VS > VVS_th_U_F_up (2.4V) b: VS < VVS_th_U_down (1.9V) c: Bus wake-up event (LIN) d: VCC < VVCC_th_uv_down (2.4V/4.2V) or WD-Reset e: VS < VVS_th_N_F_down (3.9V) f: VS > VVS_th_F_N_up (4.9V)
Unpowered Mode
g: Local wake-up event (WKin or CL15) All circuitry
OFF
a b
Fail-safe Mode
VCC:
ON
VCC monitor active Communication:
OFF
EN = 0 EN = 0 Wake-up Signaling TXD = 0 Undervoltage Signaling TXD = 1 Watchdog:
ON
& f & f & d EN = 1 & f c & f, c & f d, g & f, b g & f e b d EN = 1 EN = 1
Sleep Mode Normal Mode Silent Mode
& f & f VCC:
OFF
Go to sleep VCC:
ON
Go to silent VCC:
ON
Communication:
OFF
command EN = 0 VCC monitor active EN = 0 command VCC monitor active Communication:
ON
Watchdog:
OFF
Communication:
OFF
TXD = 0 TXD = 1 Watchdog:
ON
Watchdog:
OFF
 2018 Microchip Technology Inc. DS50002820B-page 3 Document Outline Features General Description Package Types Block Diagram 1.0 Functional Description 1.1 Physical Layer Compatibility 1.2 Operating Modes FIGURE 1-1: Operating Modes TABLE 1-1: Operating Modes (Mode Pin Is Always Low) 1.2.1 Normal Mode 1.2.2 Silent Mode FIGURE 1-2: Switching to Silent mode 1.2.3 Sleep Mode FIGURE 1-3: Switching to Sleep Mode 1.2.4 Fail-Safe mode TABLE 1-2: Signaling in Fail-safe Mode 1.3 Wake-up Scenarios from Silent Mode or Sleep Mode 1.3.1 Remote Wake-up via LIN Bus 1.3.1.1 Remote Wake-up from Silent Mode FIGURE 1-4: LIN Wake-up from Silent Mode 1.3.1.2 Remote Wake-up from Sleep Mode FIGURE 1-5: LIN Wake-up from Sleep Mode 1.3.2 Local Wake-up via WKin Pin FIGURE 1-6: Local Wake-up via WKin pin from Sleep Mode FIGURE 1-7: Local Wake-up via WKin pin from Silent Mode 1.3.3 Local Wake-up via CL15 1.3.4 Wake-up Source Recognition TABLE 1-3: Signaling in Fail-Safe Mode 1.4 Behavior under Low Supply Voltage Conditions FIGURE 1-8: VCC and NRES versus VS (Ramp-up) for ATA663431 FIGURE 1-9: VCC and NRES versus VS (Ramp-down) for ATA663431 FIGURE 1-10: VCC and NRES versus VS (Ramp-up) for ATA663454 FIGURE 1-11: VCC and NRES versus VS (Ramp-Down) for ATA663454 1.5 Voltage Regulator FIGURE 1-12: VCC Voltage Regulator: Supply Voltage Ramp-up and Ramp-down FIGURE 1-13: Power Dissipation: Safe Operating Area: Regulator’s Output Current IVCC versus Supply Voltage VVS at Different Ambient Temperatures (RthvJA = 45 K/W assumed) 1.6 Watchdog FIGURE 1-14: Limp Home (LH) State Diagram 1.6.1 Typical Timing Sequence with RWDOSC = 51 kΩ EQUATION 1-1: FIGURE 1-15: Timing Sequence with RWDOSC = 51 kΩ 1.6.2 Worst-Case Calculation with RWDOSC = 51 kΩ EQUATION 1-2: TABLE 1-4: Typical Watchdog Timings 1.7 Pin Descriptions TABLE 1-5: Pin Description 1.7.1 Bus Data Output Pin (RXD) 1.7.2 Enable Input Pin (EN) 1.7.3 Undervoltage Reset Output Pin (NRES) 1.7.4 Bus Data Input/Output (TXD) 1.7.5 NTRIG Input Pin 1.7.6 Mode Input Pin (MODE) 1.7.7 WDOSC Output Pin 1.7.8 High-side Switch Pins (HSout, HSin) 1.7.9 Limp Home Watchdog Failure Output (LH) 1.7.10 CL15 Pin 1.7.11 Wake Input Pin (WKin) 1.7.12 Ground Pin (GND) 1.7.13 Bus Pin (LIN) 1.7.14 Supply Pin (VS) 1.7.15 Voltage Regulator Output Pin (VCC) Typical Application Circuit 2.0 Electrical Characteristics 2.1 Absolute Maximum Ratings† Electrical Characteristics FIGURE 2-1: Definition of Bus timing Characteristics Temperature Specifications 3.0 Packaging Information 3.1 Package Marking Information LIN SBC including LIN Transceiver, Voltage Regulator, Window Watchdog and High-Side Switch Appendix A: Revision History Revision A (November 2018) Revision B (November 2018) Product Identification System AMERICAS Corporate Office Atlanta Austin, TX Boston Chicago Dallas Detroit Houston, TX Indianapolis Los Angeles Raleigh, NC New York, NY San Jose, CA Canada - Toronto ASIA/PACIFIC Australia - Sydney China - Beijing China - Chengdu China - Chongqing China - Dongguan China - Guangzhou China - Hangzhou China - Hong Kong SAR China - Nanjing China - Qingdao China - Shanghai China - Shenyang China - Shenzhen China - Suzhou China - Wuhan China - Xian China - Xiamen China - Zhuhai ASIA/PACIFIC India - Bangalore India - New Delhi India - Pune Japan - Osaka Japan - Tokyo Korea - Daegu Korea - Seoul Malaysia - Kuala Lumpur Malaysia - Penang Philippines - Manila Singapore Taiwan - Hsin Chu Taiwan - Kaohsiung Taiwan - Taipei Thailand - Bangkok Vietnam - Ho Chi Minh EUROPE Austria - Wels Denmark - Copenhagen Finland - Espoo France - Paris Germany - Garching Germany - Haan Germany - Heilbronn Germany - Karlsruhe Germany - Munich Germany - Rosenheim Israel - Ra’anana Italy - Milan Italy - Padova Netherlands - Drunen Norway - Trondheim Poland - Warsaw Romania - Bucharest Spain - Madrid Sweden - Gothenberg Sweden - Stockholm UK - Wokingham Worldwide Sales and Service