Datasheet S-34TS04L (ABLIC) - 2
| Fabricante | ABLIC |
| Descripción | 2-wire Serial E2PROM With Temperature Sensor |
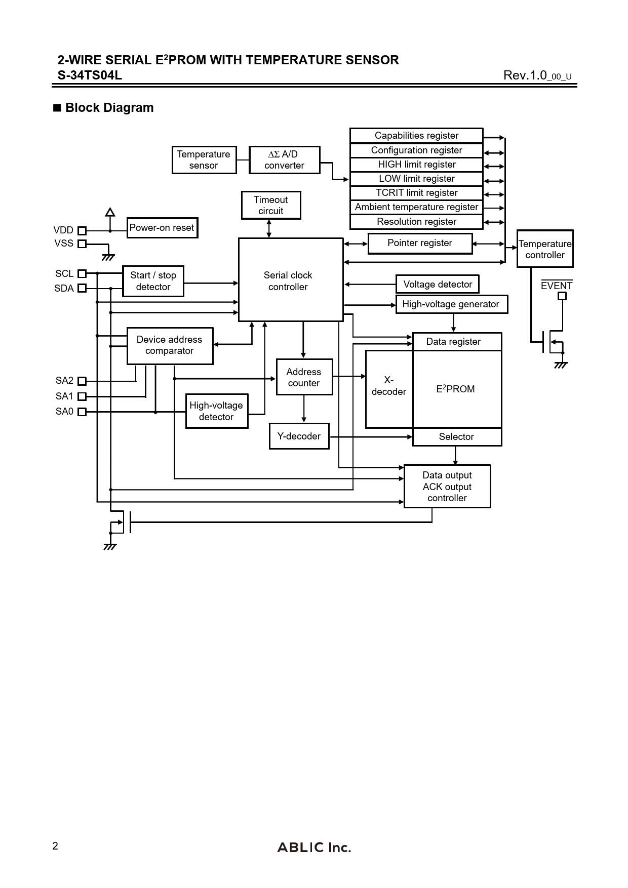
| Páginas / Página | 38 / 2 — 2-WIRE SERIAL E2PROM WITH TEMPERATURE SENSOR S-34TS04L. Block Diagram |
| Formato / tamaño de archivo | PDF / 523 Kb |
| Idioma del documento | Inglés |
2-WIRE SERIAL E2PROM WITH TEMPERATURE SENSOR S-34TS04L. Block Diagram

Línea de modelo para esta hoja de datos
Versión de texto del documento
2-WIRE SERIAL E2PROM WITH TEMPERATURE SENSOR S-34TS04L
Rev.1.0_00_U
Block Diagram
Capabilities register Configuration register Temperature ΔΣ A/D sensor converter HIGH limit register LOW limit register TCRIT limit register Timeout Ambient temperature register circuit Resolution register Power-on reset VDD VSS Pointer register Temperature control er SCL Start / stop Serial clock Voltage detector SDA detector controller EVENT High-voltage generator Device address Data register comparator Address SA2 X- counter decoder E2PROM SA1 High-voltage SA0 detector Y-decoder Selector Data output ACK output controller 2