Datasheet TLP2312 (Toshiba) - 6
| Fabricante | Toshiba |
| Descripción | Photocouplers Infrared LED & Photo IC |
| Páginas / Página | 17 / 6 — TLP2312. 12. Test. Circuits. and. Characteristics. Curves. 12.1. Test. … |
| Formato / tamaño de archivo | PDF / 648 Kb |
| Idioma del documento | Inglés |
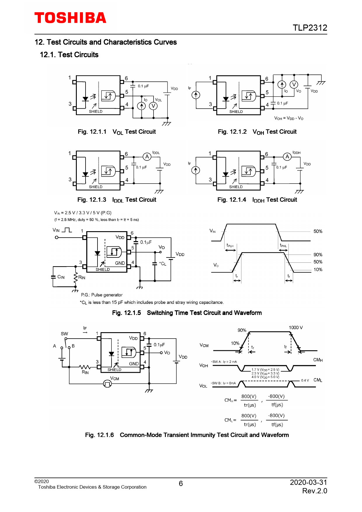
TLP2312. 12. Test. Circuits. and. Characteristics. Curves. 12.1. Test. Circuits. Fig. 12.1.1. VOL. Test. Circuit. Fig. 12.1.2. VOH. Test. Circuit. Fig. 12.1.3

Línea de modelo para esta hoja de datos
Versión de texto del documento
TLP2312 12. Test Circuits and Characteristics Curves 12.1. Test Circuits Fig. 12.1.1 VOL Test Circuit Fig. 12.1.2 VOH Test Circuit Fig. 12.1.3 IDDL Test Circuit Fig. 12.1.4 IDDH Test Circuit Fig. 12.1.5 Switching Time Test Circuit and Waveform Fig. 12.1.6 Common-Mode Transient Immunity Test Circuit and Waveform ©2020 6 2020-03-31 Toshiba Electronic Devices & Storage Corporation Rev.2.0