Datasheet BM70, BM71 (Microchip) - 8
| Fabricante | Microchip |
| Descripción | Bluetooth Low Energy (BLE) Module |
| Páginas / Página | 70 / 8 — BM70/71. FIGURE 1-5:. BM71BLE01FC2 PIN DIAGRAM. FIGURE 1-6:. BM71BLES1FC2 … |
| Formato / tamaño de archivo | PDF / 3.2 Mb |
| Idioma del documento | Inglés |
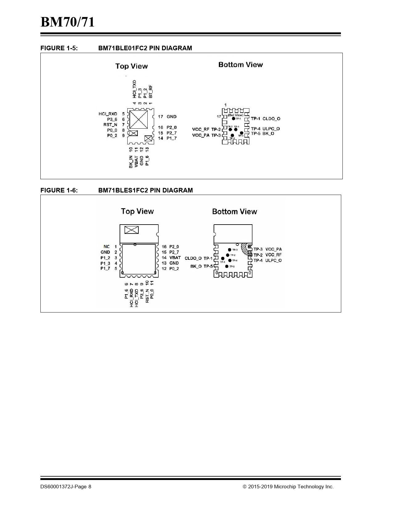
BM70/71. FIGURE 1-5:. BM71BLE01FC2 PIN DIAGRAM. FIGURE 1-6:. BM71BLES1FC2 PIN DIAGRAM

Línea de modelo para esta hoja de datos
Versión de texto del documento
BM70/71 FIGURE 1-5: BM71BLE01FC2 PIN DIAGRAM FIGURE 1-6: BM71BLES1FC2 PIN DIAGRAM
DS60001372J-Page 8 2015-2019 Microchip Technology Inc. Document Outline Features RF Features MAC/Baseband/Higher Layer Features FIGURE 1: BM70 MODULE FIGURE 2: BM71 MODULE Antenna Power Management Operating Conditions Applications General Description Table of Contents Most Current Data Sheet Errata Customer Notification System 1.0 Device Overview 1.1 Interface Description FIGURE 1-1: BM70 module Block Diagram FIGURE 1-2: BM71 module Block Diagram FIGURE 1-3: BM70BLE01FC2 Pin Diagram FIGURE 1-4: BM70BLES1FC2 Pin Diagram FIGURE 1-5: BM71ble01fc2 Pin Diagram FIGURE 1-6: BM71bles1fc2 Pin Diagram TABLE 1-1: BM70/71 PIN Description TABLE 1-2: BM70/71 module Hardware Features TABLE 1-3: Test Pads Details 2.0 Application Information 2.1 Reference Schematics FIGURE 2-1: BM70BLEs1FC2 Reference circuit FIGURE 2-2: BM70BLEs1FC2 Reference circuit FIGURE 2-3: bm70ble01fc2 reference circuit FIGURE 2-4: bm70ble01fc2 reference circuit FIGURE 2-5: bm71ble01fc2 reference circuit FIGURE 2-6: bm71ble01fc2 reference circuit FIGURE 2-7: bm71bles1fc2 reference circuit FIGURE 2-8: bm71bles1fc2 reference circuit - Optional 2.2 External Configuration and Programming FIGURE 2-9: External Configuration and programming 2.3 Host MCU Interface 2.3.1 Host MCU Interface over UART FIGURE 2-10: bm70 module to MCU interface FIGURE 2-11: bm71 module to MCU interface 2.3.2 UART Ready After External Reset FIGURE 2-12: timing diagram of BM70/71 module UART ready for test mode after reset 2.3.3 UART Ready After Power-on Reset FIGURE 2-13: timing diagram of bm70 module UART ready for test mode after power-on 2.4 Typical Hosted Configuration FIGURE 2-14: bm71 module typical hosted configuration 2.5 Power-Drop Protection FIGURE 2-15: reset circuit block diagram 3.0 Module Configuration 3.1 UART Interface 3.2 Control and Indication I/O Pins TABLE 3-1: Configuration And Indication I/O Assignments For BM70 module TABLE 3-2: Configuration And Indication I/O Assignments For BM71 module 3.3 Reset (RST_N) 3.4 System Configuration TABLE 3-3: System Configuration Settings 4.0 Antenna 4.1 Antenna Characteristics 4.1.1 BM70BLES1FC2 Ceramic Chip Antenna FIGURE 4-1: BM70BLES1FC2 Antenna Radiation Pattern TABLE 4-1: BM70BLES1FC2 Antenna Radiation Pattern details 4.1.2 BM71BLES1FC2 Ceramic Chip Antenna FIGURE 4-2: BM71BLES1FC2 Antenna Radiation Pattern TABLE 4-2: BM71BLES1FC2 Antenna Radiation Pattern details 4.2 Antenna Placement FIGURE 4-3: bm70bles1fc2 Antenna Placement examples FIGURE 4-4: bm71bles1fc2 Antenna Placement examples 4.3 Antenna Considerations TABLE 4-3: BM70BLES1FC2 Antenna details TABLE 4-4: BM71BLES1FC2 Antenna details 4.4 Host PCB Mounting Suggestion 4.4.1 BM70BLES1FC2 Host PCB Mounting FIGURE 4-5: bm70bles1fc2 host PCB mounting suggestion 4.4.2 BM70BLE01FC2 Host PCB Mounting FIGURE 4-6: bm70ble01fc2 host pcb mounting suggestions 4.4.3 BM71BLES1FC2 Host PCB Mounting FIGURE 4-7: BM71BLES1FC2 host mounting suggestion 4.4.4 BM71BLE01FC2 HOST PCB MOUNTING FIGURE 4-8: bm71ble01fc2 host pcb mounting suggestion 5.0 Electrical Characteristics Absolute Maximum Ratings TABLE 5-1: Recommended Operating Conditions TABLE 5-2: RF Specifications 5.1 Current Consumption Details 5.1.1 Tx/Rx current consumption details FIGURE 5-1: Tx/Rx Peak Current Consumption of an Advertising Event FIGURE 5-2: Tx/Rx Average Current Consumption while BM70/71 module is Advertising TABLE 5-3: Bm70/71 application mode current consumption Measurements 6.0 Physical dimensions 6.1 BM70BLES1FC2 FIGURE 6-1: BM70BLES1FC2 Module Dimensions FIGURE 6-2: BM70BLES1FC2 Recommended PCB Footprint 6.2 BM70BLE01FC2 FIGURE 6-3: BM70BLE01FC2 Module Dimensions FIGURE 6-4: BM70BLE01FC2 Recommended PCB Foot print 6.3 BM71BLES1FC2 FIGURE 6-5: BM71BLES1FC2 Module Dimensions FIGURE 6-6: BM71BLES1FC2 Recommended PCB Footprint 6.4 BM71BLE01FC2 FIGURE 6-7: BM71BLE01FC2 Module Dimensions FIGURE 6-8: BM71BLE01FC2 Recommended PCB Footprint 7.0 Soldering Recommendations FIGURE 7-1: Reflow Profile 8.0 Ordering Guide TABLE 8-1: BM70/71 Module Ordering Information Appendix A: Certification Notices TABLE A-1: EUROPEAN COMPLIANCE TESTING (BM70 module) TABLE A-2: EUROPEAN COMPLIANCE TESTING (BM71 module) Appendix B: Revision History Revision A (October 2015) Revision B (October 2015) TABLE B-1: major Section Updates Revision C (November 2015) Revision D (March 2016) TABLE D-1: major Section Updates Revision E (January 2017) TABLE E-1: major Section Updates Revision F (May 2017) TABLE F-1: major Section Updates Revision G (January 2018) TABLE G-1: major Section Updates Revision H (July 2018) TABLE H-1: major Section Updates Revision J (January 2019) TABLE I-1: major Section Updates The Microchip WebSite Customer Change Notification Service Customer Support AMERICAS Corporate Office Atlanta Austin, TX Boston Chicago Dallas Detroit Houston, TX Indianapolis Los Angeles Raleigh, NC New York, NY San Jose, CA Canada - Toronto ASIA/PACIFIC Australia - Sydney China - Beijing China - Chengdu China - Chongqing China - Dongguan China - Guangzhou China - Hangzhou China - Hong Kong SAR China - Nanjing China - Qingdao China - Shanghai China - Shenyang China - Shenzhen China - Suzhou China - Wuhan China - Xian China - Xiamen China - Zhuhai ASIA/PACIFIC India - Bangalore India - New Delhi India - Pune Japan - Osaka Japan - Tokyo Korea - Daegu Korea - Seoul Malaysia - Kuala Lumpur Malaysia - Penang Philippines - Manila Singapore Taiwan - Hsin Chu Taiwan - Kaohsiung Taiwan - Taipei Thailand - Bangkok Vietnam - Ho Chi Minh EUROPE Austria - Wels Denmark - Copenhagen Finland - Espoo France - Paris Germany - Garching Germany - Haan Germany - Heilbronn Germany - Karlsruhe Germany - Munich Germany - Rosenheim Israel - Ra’anana Italy - Milan Italy - Padova Netherlands - Drunen Norway - Trondheim Poland - Warsaw Romania - Bucharest Spain - Madrid Sweden - Gothenberg Sweden - Stockholm UK - Wokingham Worldwide Sales and Service