Datasheet TLP170GM (Toshiba) - 2
| Fabricante | Toshiba |
| Descripción | Photocouplers Photorelay |
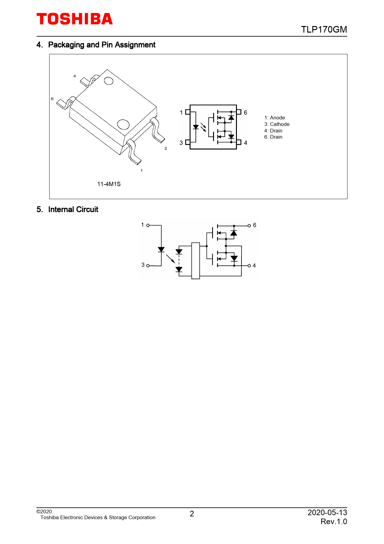
| Páginas / Página | 10 / 2 — TLP170GM. 4. Packaging. and. Pin. Assignment. 1:. Anode. 3:. Cathode. 4:. … |
| Formato / tamaño de archivo | PDF / 305 Kb |
| Idioma del documento | Inglés |
TLP170GM. 4. Packaging. and. Pin. Assignment. 1:. Anode. 3:. Cathode. 4:. Drain. 6:. Drain. 11-4M1S. 5. Internal. Circuit. ©2020. 2. 2020-05-13. Toshiba

Línea de modelo para esta hoja de datos
Versión de texto del documento
TLP170GM 4. Packaging and Pin Assignment 1: Anode 3: Cathode 4: Drain 6: Drain 11-4M1S 5. Internal Circuit ©2020 2 2020-05-13 Toshiba Electronic Devices & Storage Corporation Rev.1.0