Datasheet ALT80800 (Allegro) - 4

FabricanteAllegro
DescripciónAutomotive-Grade, Constant-Current 2.0 A PWM Dimmable Synchronous Buck LED Driver
Páginas / Página23 / 4 — Automotive-Grade, Constant-Current 2.0 A. ALT80800. PWM Dimmable …
Formato / tamaño de archivoPDF / 2.2 Mb
Idioma del documentoInglés

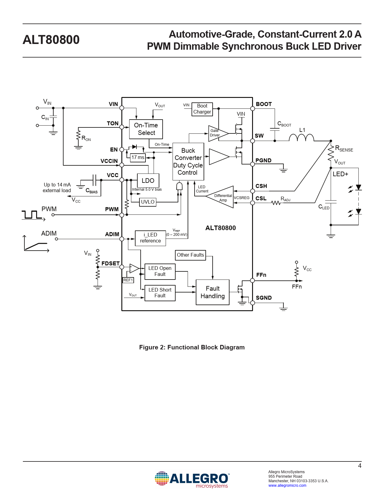
Automotive-Grade, Constant-Current 2.0 A. ALT80800. PWM Dimmable Synchronous Buck LED Driver. VIN. BOOT. TON. VCCIN. PGND. VCC. CSH. CSL. PWM

Automotive-Grade, Constant-Current 2.0 A ALT80800 PWM Dimmable Synchronous Buck LED Driver VIN BOOT TON VCCIN PGND VCC CSH CSL PWM

Línea de modelo para esta hoja de datos

Versión de texto del documento

Automotive-Grade, Constant-Current 2.0 A ALT80800 PWM Dimmable Synchronous Buck LED Driver
VIN
VIN
VOUT VIN Boot
BOOT
Charger C VIN IN
TON
CBOOT On-Time Gate L1 Select R Driver
SW
ON On-Time R
EN
SENSE Buck 17 ms Converter
VCCIN PGND
Duty Cycle VOUT
VCC
Control LED+ LDO Up to 14 mA LED
CSH
external load C Internal 5.0 V bias CBIAS Current Differential VCSREG V Amp
CSL
RADJ CC UVLO PWM
PWM
CLED V
ALT80800
REF ADIM
ADIM
i_LED (0 – 200 mV) reference VIN Other Faults
FDSET
+ LED Open VCC - Fault
FFn
REF1 LED Short Fault FFn VOUT Fault Handling
SGND Figure 2: Functional Block Diagram
4 Allegro MicroSystems 955 Perimeter Road Manchester, NH 03103-3353 U.S.A. www.allegromicro.com Document Outline Features and Benefits Description Applications Package Typical Application Circuit Selection Guide Specifications Absolute Maximum Ratings Thermal Characteristics Pinout Diagrams and Terminal List Tables Functional Block Diagrams Electrical Characteristics Functional Description Application Circuit Diagrams