Datasheet ADG619-EP (Analog Devices) - 9
| Fabricante | Analog Devices |
| Descripción | CMOS, ±5 V/+5 V, 4 Ω, Single SPDT Switch |
| Páginas / Página | 12 / 9 — ADG619-EP. VDD. VSS. 0.1µF. NETWORK. ANALYZER. VOUT. R 50Ω. 50Ω. GND. … |
| Formato / tamaño de archivo | PDF / 226 Kb |
| Idioma del documento | Inglés |
ADG619-EP. VDD. VSS. 0.1µF. NETWORK. ANALYZER. VOUT. R 50Ω. 50Ω. GND. CHANNEL-TO-CHANNEL CROSSTALK = 20 log. OUT. RL 50Ω. OUT WITH SWITCH

Línea de modelo para esta hoja de datos
Versión de texto del documento
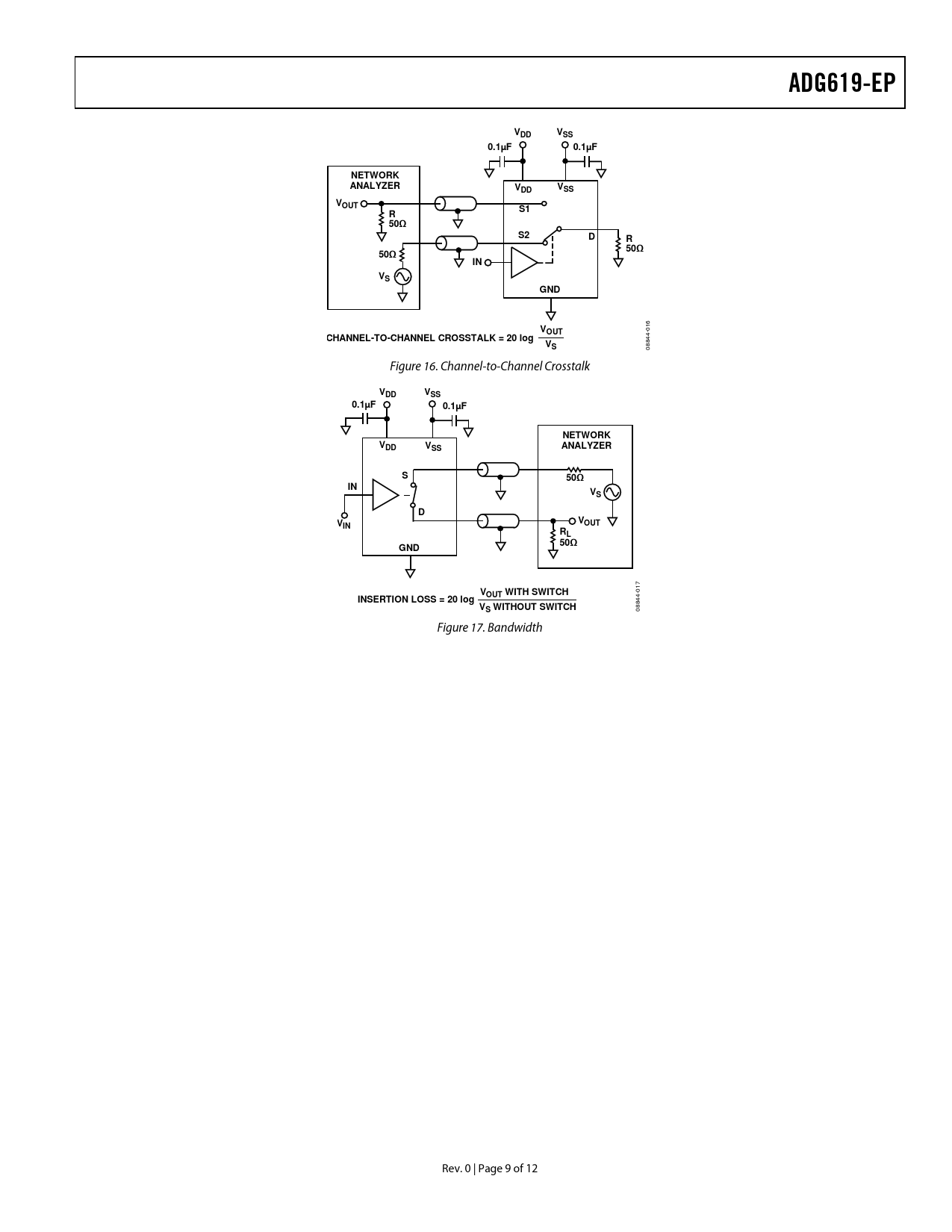
ADG619-EP VDD VSS 0.1µF 0.1µF NETWORK ANALYZER VDD VSS VOUT S1 R 50Ω S2 D R 50Ω 50Ω IN VS GND VOUT
016
CHANNEL-TO-CHANNEL CROSSTALK = 20 log VS
08844- Figure 16. Channel-to-Channel Crosstalk
V V DD SS 0.1µF 0.1µF NETWORK VDD V ANALYZER SS S 50Ω IN VS D V V OUT IN RL 50Ω GND V
017
OUT WITH SWITCH INSERTION LOSS = 20 log VS WITHOUT SWITCH
08844- Figure 17. Bandwidth Rev. 0 | Page 9 of 12 Document Outline Features Applications Functional Block Diagram General Description Product Highlights Revision History Specifications Dual Supply Single Supply Absolute Maximum Ratings ESD Caution Pin Configuration and Function Descriptions Typical Performance Characteristics Test Circuits Outline Dimensions Ordering Guide