Datasheet ADG621 (Analog Devices) - 10
| Fabricante | Analog Devices |
| Descripción | CMOS, ±5 V/+5 V, 4 Ω Dual SPST Switches |
| Páginas / Página | 12 / 10 — ADG621. Data Sheet. VDD. VSS. 0.1µF. NETWORK. ANALYZER. 50Ω. OUT. GND. … |
| Revisión | C |
| Formato / tamaño de archivo | PDF / 242 Kb |
| Idioma del documento | Inglés |
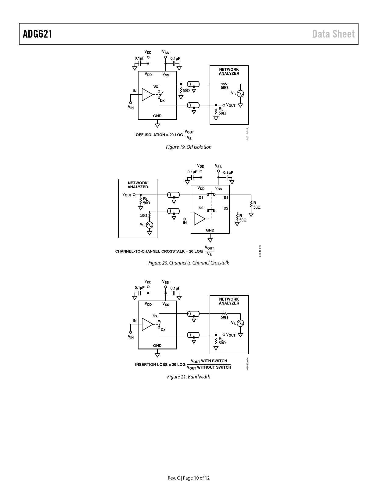
ADG621. Data Sheet. VDD. VSS. 0.1µF. NETWORK. ANALYZER. 50Ω. OUT. GND. VOUT. OFF ISOLATION = 20 LOG. CHANNEL-TO-CHANNEL CROSSTALK = 20 LOG

Línea de modelo para esta hoja de datos
Versión de texto del documento
ADG621 Data Sheet VDD VSS 0.1µF 0.1µF NETWORK V ANALYZER DD VSS Sx 50Ω IN 50Ω VS Dx V V OUT IN RL 50Ω GND VOUT
022
OFF ISOLATION = 20 LOG VS
02616- Figure 19. Off Isolation
VDD VSS 0.1µF 0.1µF NETWORK ANALYZER VDD VSS VOUT R D1 S1 L 50Ω R S2 D2 50Ω 50Ω R 50Ω IN VS GND VOUT
023
CHANNEL-TO-CHANNEL CROSSTALK = 20 LOG VS
02616- Figure 20. Channel to Channel Crosstalk
VDD VSS 0.1µF 0.1µF NETWORK V ANALYZER DD VSS Sx 50Ω IN VS Dx V V OUT IN RL 50Ω GND VOUT WITH SWITCH
024
INSERTION LOSS = 20 LOG VOUT WITHOUT SWITCH
02616- Figure 21. Bandwidth Rev. C | Page 10 of 12 Document Outline FEATURES APPLICATIONS FUNCTIONAL BLOCK DIAGRAM GENERAL DESCRIPTION PRODUCT HIGHLIGHTS TABLE OF CONTENTS REVISION HISTORY SPECIFICATIONS DUAL SUPPLY SINGLE SUPPLY ABSOLUTE MAXIMUM RATINGS ESD CAUTION PIN CONFIGURATION AND FUNCTION DESCRIPTIONS TYPICAL PERFORMANCE CHARACTERISTICS TEST CIRCUITS TERMINOLOGY OUTLINE DIMENSIONS ORDERING GUIDE