Datasheet AP43776Q (Diodes) - 6
| Fabricante | Diodes |
| Descripción | Automotive-Grade Dual-Channel USB Type-C Protocol Decoder |
| Páginas / Página | 13 / 6 — AP43776Q. Functional Block Diagram. Figure 5. The functional block … |
| Formato / tamaño de archivo | PDF / 973 Kb |
| Idioma del documento | Inglés |
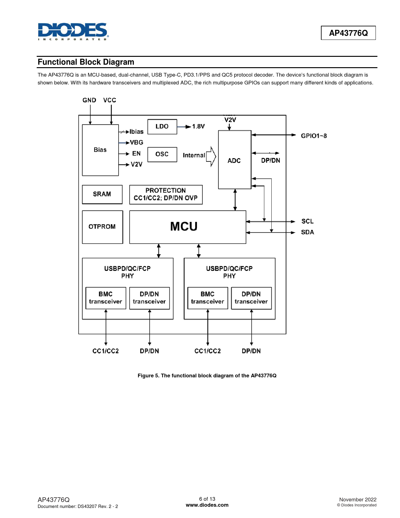
AP43776Q. Functional Block Diagram. Figure 5. The functional block diagram of the AP43776Q. www.diodes.com

Línea de modelo para esta hoja de datos
Versión de texto del documento
AP43776Q Functional Block Diagram
The AP43776Q is an MCU-based, dual-channel, USB Type-C, PD3.1/PPS and QC5 protocol decoder. The device’s functional block diagram is shown below. With its hardware transceivers and multiplexed ADC, the rich multipurpose GPIOs can support many different kinds of applications.
Figure 5. The functional block diagram of the AP43776Q
AP43776Q 6 of 13 November 2022 Document number: DS43207 Rev. 2 - 2
www.diodes.com
© Diodes Incorporated