Datasheet IXRFD630 (IXYS) - 6

FabricanteIXYS
Descripción30 A Low-Side RF MOSFET Driver
Páginas / Página8 / 6 — IXRFD630
Formato / tamaño de archivoPDF / 262 Kb
Idioma del documentoInglés

IXRFD630

IXRFD630

Línea de modelo para esta hoja de datos

Versión de texto del documento

30 A Low-Side RF MOSFET Driver
IXRFD630
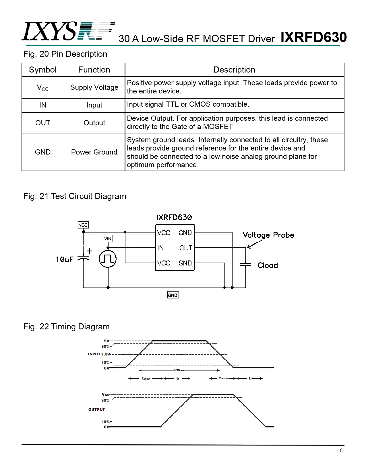
Fig. 20 Pin Description Symbol Function Description Positive power supply voltage input. These leads provide power to VCC Supply Voltage the entire device. IN Input Input signal-TTL or CMOS compatible. Device Output. For application purposes, this lead is connected OUT Output directly to the Gate of a MOSFET System ground leads. Internally connected to all circuitry, these leads provide ground reference for the entire device and GND Power Ground should be connected to a low noise analog ground plane for optimum performance. Fig. 21 Test Circuit Diagram Fig. 22 Timing Diagram 6