Hojas de datos
Más
Only-Datasheet.com
Sobre nosotros
Cooperación
Publicidad
Contactos
en - English
ru - Русский
de - Deutsch
zh - 中文
Buscar
Hojas de datos
Datasheet BL8530 (Belling)
Datasheet BL8530 (Belling) - 7
Fabricante
Belling
Descripción
PFM Step-Up DC/DC Converter With High Efficiency And Low Noise
Páginas / Página
14
/
7
— BL8530
Formato / tamaño de archivo
PDF
/
231 Kb
Idioma del documento
Inglés
BL8530
1
...
6
7
8
9
10
Descargar PDF
1
...
6
7
8
9
10
Línea de modelo para esta hoja de datos
BL8530
BL8530-251RM
BL8530-251SM
BL8530-252RN
BL8530-253RM
BL8530-253SM
BL8530-254RN
BL8530-271RM
BL8530-271SM
BL8530-272RN
BL8530-273RM
BL8530-273SM
BL8530-274RN
BL8530-301RM
BL8530-301SM
BL8530-302RN
BL8530-303RM
BL8530-303SM
BL8530-304RN
BL8530-331RM
BL8530-331SM
BL8530-332RN
BL8530-333RM
BL8530-333SM
BL8530-334RN
BL8530-361RM
BL8530-361SM
BL8530-362RN
BL8530-363RM
BL8530-363SM
BL8530-364RN
BL8530-401RM
BL8530-401SM
BL8530-402RN
BL8530-403RM
BL8530-403SM
BL8530-404RN
BL8530-501RM
BL8530-501SM
BL8530-502RN
BL8530-503RM
BL8530-503SM
BL8530-504RN
BL8530-601RM
BL8530-601SM
BL8530-602RN
BL8530-603RM
BL8530-603SM
BL8530-604RN
Versión de texto del documento
BL8530
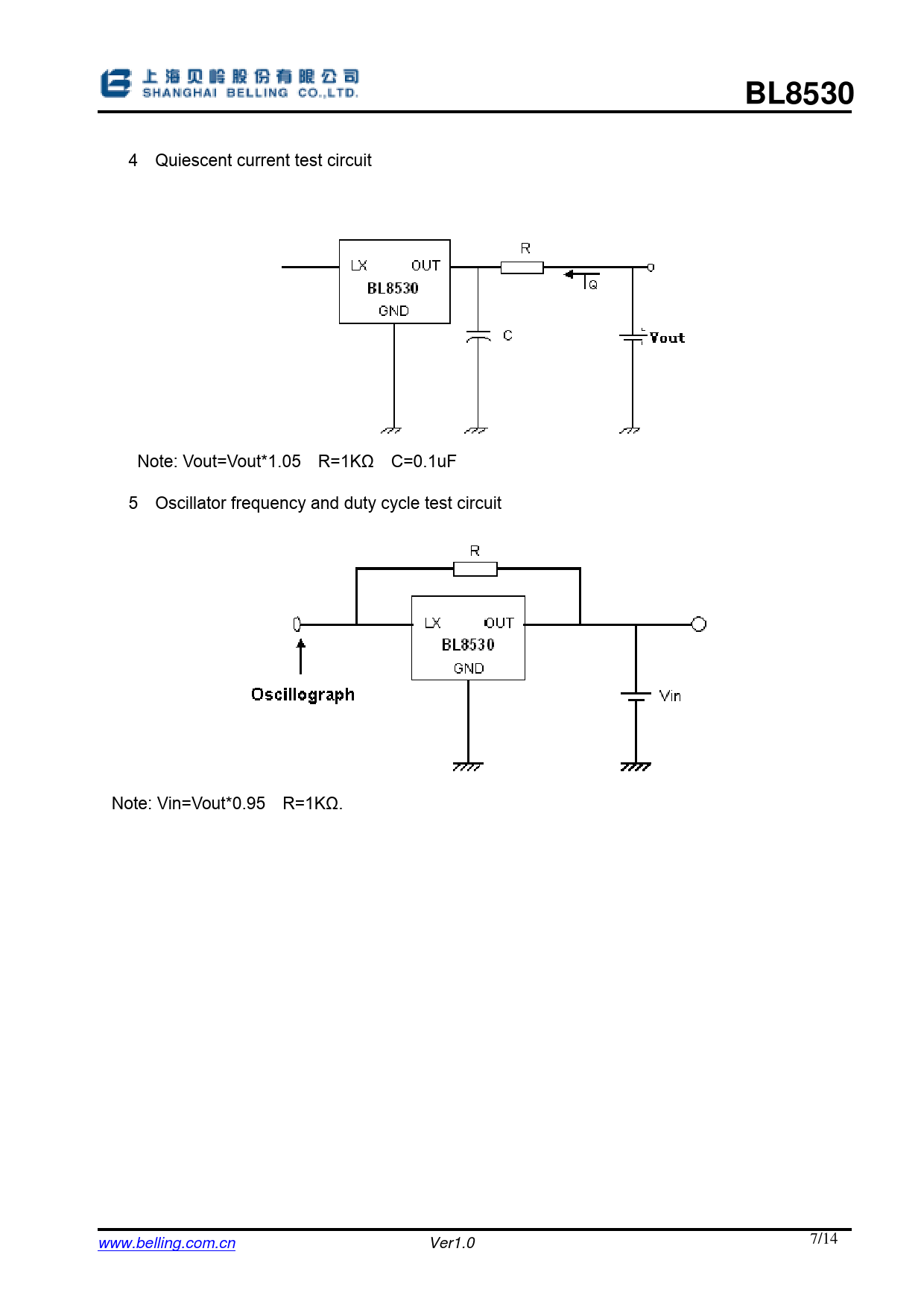
(4)Quiescent current test circuit Note: Vout=Vout*1.05,R=1KΩ,C=0.1uF。 (5)Oscillator frequency and duty cycle test circuit Note: Vin=Vout*0.95,R=1KΩ. www.belling.com.cn Ver1.0 7/ 14
Contactos
Política de privacidad
Cambiar la configuración de privacidad