Datasheet MC1458 (STMicroelectronics) - 4
| Fabricante | STMicroelectronics |
| Descripción | High-performance, dual operational amplifier |
| Páginas / Página | 12 / 4 — Package pin. MC1458. Package pin connections. Figure 2: Pin connections … |
| Formato / tamaño de archivo | PDF / 469 Kb |
| Idioma del documento | Inglés |
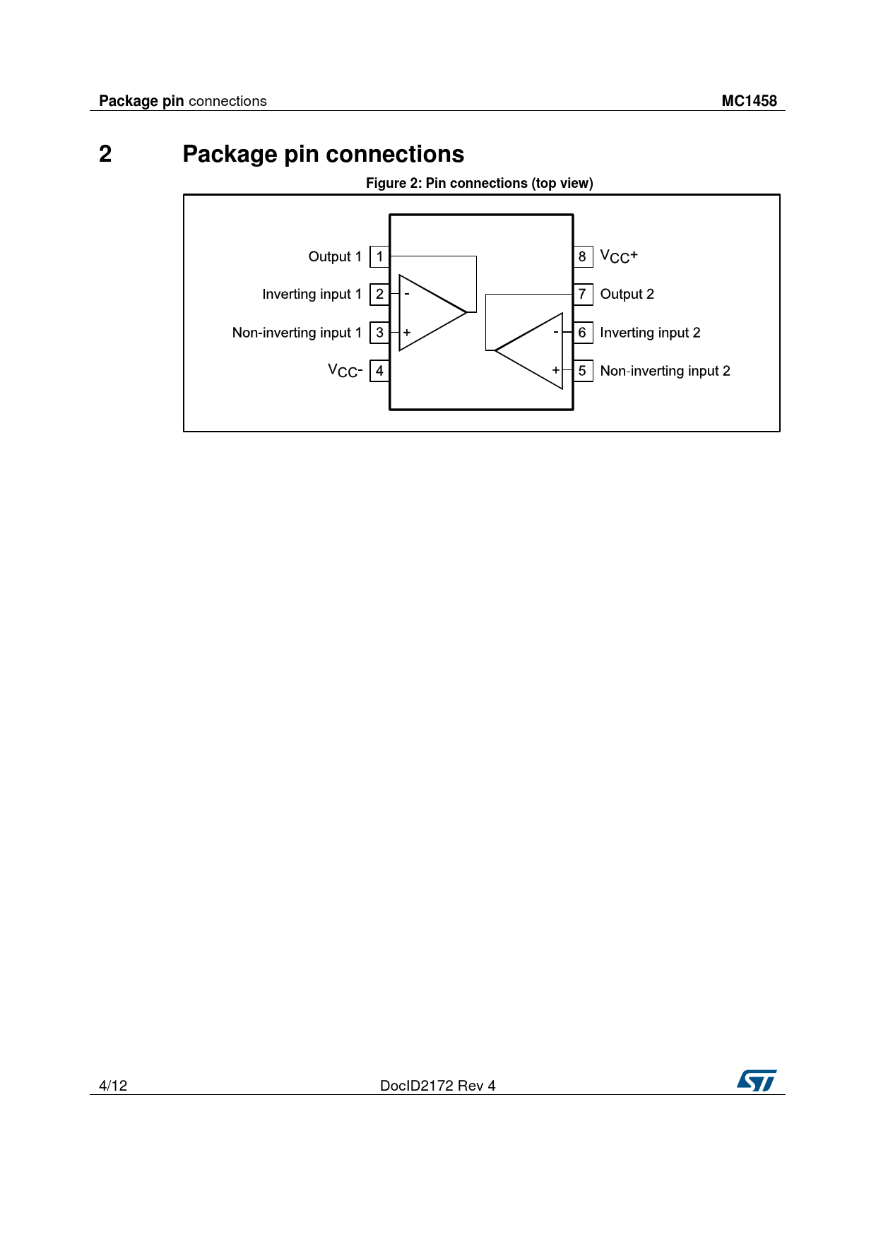
Package pin. MC1458. Package pin connections. Figure 2: Pin connections (top view)

Línea de modelo para esta hoja de datos
Versión de texto del documento
Package pin
connections
MC1458 2 Package pin connections Figure 2: Pin connections (top view)
4/12 DocID2172 Rev 4 Document Outline 1 Schematic diagram 2 Package pin connections 3 Absolute maximum ratings 4 Electrical characteristics 5 Package information 5.1 SO8 package information 6 Ordering information 7 Revision history