Datasheet BA76220 (Holtek) - 4
| Fabricante | Holtek |
| Descripción | PIR Controller |
| Páginas / Página | 21 / 4 — BA76220. PIR Controller. Block Diagram. Pin Assignment. 16 NSOP-A |
| Formato / tamaño de archivo | PDF / 779 Kb |
| Idioma del documento | Inglés |
BA76220. PIR Controller. Block Diagram. Pin Assignment. 16 NSOP-A

Línea de modelo para esta hoja de datos
Versión de texto del documento
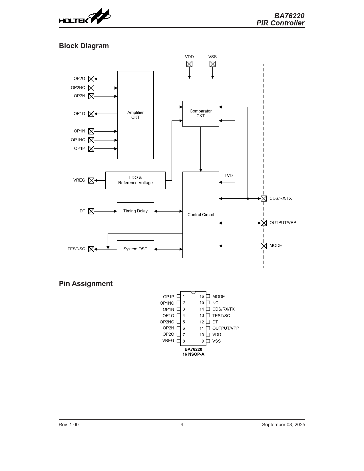
BA76220 PIR Controller Block Diagram
VDD VSS OP2O OP2NC OP2N OP1O Amplifier Comparator CKT CKT OP1N OP1NC OP1P LDO & LVD VREG Reference Voltage CDS/RX/TX DT Timing Delay Control Circuit OUTPUT/VPP MODE TEST/SC System OSC
Pin Assignment
OP1P 1 16 MODE OP1NC 2 15 NC OP1N 3 14 CDS/RX/TX OP1O 4 13 TEST/SC OP2NC 5 12 DT OP2N 6 11 OUTPUT/VPP OP2O 7 10 VDD VREG 8 9 VSS
BA76220 16 NSOP-A
Rev. 1.00 4 September 08, 2025 Document Outline Features Applications General Description Block Diagram Pin Assignment Pin Description Absolute Maximum Ratings Electrical Characteristics Functional Description TEST SC DT MODE CDS OUTPUT LVD Trigger Timing Retrigger LVD & CDS Detect Circuit The Criterion of LVD and CDS The Criterion of MODE Conditions for Disabling the PIR Amplifier Circuit Selection of OSC or DT Write ROM & Data Updated Communication Write/Read Value Protocol Registers PIR Amplifier Power-on Flow Application Circuits OTP-based Application Circuit RC-based Application Circuit Package Information 16-pin NSOP (150mil) Outline Dimensions