Datasheet TCKE6 (Toshiba) - 5
| Fabricante | Toshiba |
| Descripción | 40 V, 2.5 A eFuse IC with Adjustable Overcurrent Protection in TSOP6F package |
| Páginas / Página | 26 / 5 — 7. Block Diagram. Figure 7.1 Block Diagram. TCKE601RA,TCKE601RL. Figure … |
| Formato / tamaño de archivo | PDF / 1.4 Mb |
| Idioma del documento | Inglés |
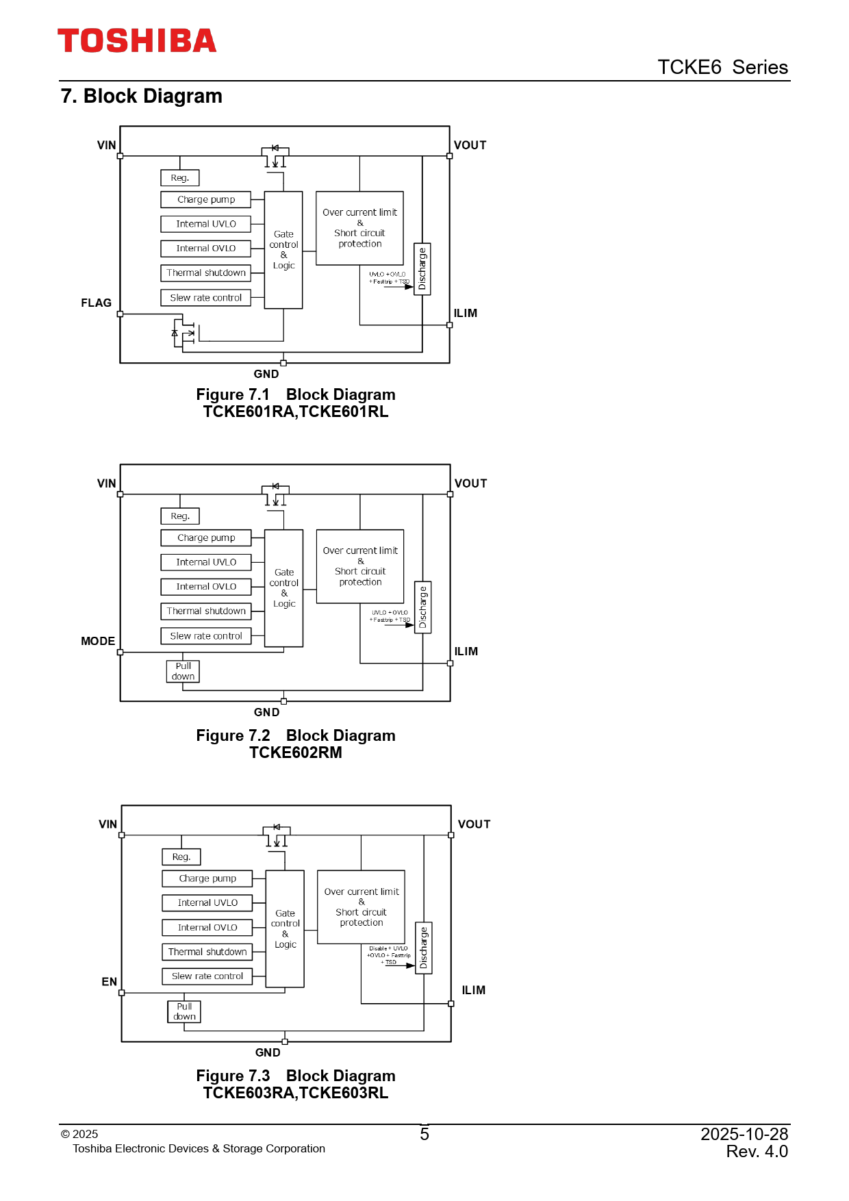
7. Block Diagram. Figure 7.1 Block Diagram. TCKE601RA,TCKE601RL. Figure 7.2 Block Diagram. TCKE602RM. Figure 7.3 Block Diagram

Línea de modelo para esta hoja de datos
Versión de texto del documento
TCKE6 Series
7. Block Diagram Figure 7.1 Block Diagram TCKE601RA,TCKE601RL Figure 7.2 Block Diagram TCKE602RM Figure 7.3 Block Diagram TCKE603RA,TCKE603RL
© 2 025 5 2025-10-28 Toshiba Electronic Devices & Storage Corporation Rev. 4.0